новости бизнеса
компании и предприятия
нефтехимические компании
продукция / логистика
торговый центр
ChemIndex
новости науки
работа для химиков
химические выставки
лабораторное оборудование
химические реактивы
расширенный поиск
каталог ресурсов
электронный справочник
авторефераты
форум химиков
подписка / опросы
проекты / о нас


контакты
поиск
   

главная > справочник > химическая энциклопедия:

Газоанализаторы


выберите первую букву в названии статьи: А Б В Г Д Е Ж З И К Л М Н О П Р С Т У Ф Х Ц Ч Ш Щ Э Ю Я

ГАЗОАНАЛИЗАТОРЫ, приборы, измеряющие содержание (концентрацию) одного или неск. компонентов в газовых смесях (см. также Газовый анализ). Каждый Г. предназначен для измерения концентрации только определенных компонентов на фоне конкретной газовой смеси в нормиров. условиях. Наряду с использованием отдельных Г. создаются системы газового контроля, объединяющие десятки таких приборов. В большинстве случаев работа Г. невозможна без ряда вспомогат. устройств, обеспечивающих создание необходимых температуры и давления, очистку газовой смеси от пыли и смол, а в ряде случаев и от некоторых мешающих измерениям компонентов и агрессивных веществ. Г. классифицируют по принципу действия на пневматические, магнитные, электрохимические, полупроводниковые и др. Ниже излагаются физ. основы и области применения Наиб. распространенных Г.

Термокондуктометрические газоанализаторы. Их действие основано на зависимости теплопроводности газовой смеси от ее состава. Для большинства практически важных случаев справедливо ур-ние:

где -теплопроводность смеси, - теплопроводность i - того компонента, Ci - eгo концентрация, n-число компонентов.

Термокондуктометрич. Г. не обладают высокой избирательностью и используются, если контролируемый компонент по теплопроводности существенно отличается от остальных, например для определения концентраций Н2, Не, Аг, СО2 в газовых смесях, содержащих N2, О2 и др. Диапазон измерения - от единиц до десятков процентов по объему.

Изменение состава газовой смеси приводит к изменению ее теплопроводности и, как следствие, температуры и электрич. сопротивления нагреваемого током металлич. или полупроводникового терморезистора, размещенного в камере, через которую пропускается смесь. При этом:

где a-конструктивный параметр камеры, R1 и R2- сопротивление терморезистора в случае пропускания через него тока I при теплопроводности газовой среды соотв. и , -температурный коэф. электрич. сопротивления терморезистора.

Рис. 1. Термокондуктометрич. газоанализатор: 1 -источник стабилизиров. напряжения; 2-вторичный прибор; R1 и R3 - рабочие терморезисторы; R2 и R4 -сравнит. терморезисторы; R0 и потенциометры; вход и выход анализируемой газовой смеси показаны стрелками.

На рис. 1 приведена схема, применяемая во многих Термокондуктометрич. Г. Чувствит. элементы R1 и R3 (рабочие терморезисторы) омываются анализируемой смесью; сравнит. терморезисторы R2 и R4 помещены в герметичные ячейки, заполненные сравнит. газом точно известного состава. Потенциометры R0 и предназначены для установки нулевых показаний и регулировки диапазона измерения. Мера концентрации определяемого компонента - электрич. ток, проходящий через , который измеряется вторичным (т.е. показывающим или регистрирующим) прибором. Термокондуктометрич. Г. широко применяют для контроля процессов в произ-ве H2SO4, NH3, HNO3, в металлургии и др.

Термохимические газоанализаторы. В этих приборах измеряют тепловой эффект хим. реакции, в которой участвует определяемый компонент. В большинстве случаев используется окисление компонента кислородом воздуха; катализаторы - марганцевомедный (гопкалит) или мелкодисперсная Pt, нанесенная на пов-сть пористого носителя. Изменение температуры при окислении измеряют с помощью металлич. или полупроводникового терморезистора. В ряде случаев пов-сть платинового терморезистора используют как катализатор. Величина связана с числом молей М окислившегося компонента и тепловым эффектом соотношением: , где k-коэф., учитывающий потери тепла, зависящие от конструкции прибора.

Схема (рис. 2) включает измерит. мост с постоянными резисторами (R1 и R4)и двумя терморезисторами, один из которых (R2)находится в атмосфере сравнит. газа, а второй (R3)омывается потоком анализируемого газа. Напряжение Uвых в диагонали моста пропорционально концентрации определяемого компонента. Для устойчивой работы Г. исключают влияние температуры среды (термостатированием или термокомпенсацией), стабилизируют напряжение, поддерживают постоянным расход газа, очищают его от примесей, отравляющих катализатор (С12, НС1, H2S, SO2 и др.).

Рис. 2. Термохим. газоанализатор: 1- источник стабилизиров. напряжения; 2-вторичный прибор; R1 и R4 - постоянные резисторы; R2 и R3-соотв, сравнительный и рабочий терморезисторы.

Большинство термохим. Г. используют в кач-ве газосигнализаторов горючих газов и паров2, углеводороды и др.) в воздухе при содержании 20% от их ниж. КПВ, а также при электролизе воды для определения примесей водорода в кислороде (диапазон измерения 0,02-2%) и кислорода в водороде (0,01-1%).

Магнитные газоанализаторы. Применяют для определения О2. Их действие основано на зависимости магн. восприимчивости газовой смеси от концентрации О2, объемная магн. восприимчивость которого на два порядка больше, чем у большинства остальных газов. Такие Г. позволяют избирательно определять О2 в сложных газовых смесях. Диапазон измеряемых концентраций 10-2 - 100%. Наиб. распространены магнитомех. и термомагн. Г.

В магнитомеханических Г. (рис. 3) измеряют силы, действующие в неоднородном магн. поле на помещенное в анализируемую смесь тело (обычно ротор). Сила F, выталкивающая тело из магн. поля, определяется выражением:

где и -объемная магн. восприимчивость соотв. анализируемой смеси и тела, помещенного в газ, V-объем тела, H-напряженность магн. поля. Обычно мерой концентрации компонента служит вращающий момент, находимый по углу поворота ротора. Показания магнитомех. Г. определяются магн. свойствами анализируемой газовой смеси и зависят от температуры и давления, поскольку последние влияют на объемную магн. восприимчивость газа.

Более точны Г., выполненные по компенсац. схеме. В них момент вращения ротора, функционально связанный с концентрацией О2 в анализируемой смеси, уравновешивается известным моментом, для создания которого используются магнитоэлектрич. или электростатич. системы. Роторные Г. ненадежны в промышленных условиях, их сложно юстировать.

Рис. 3. Магнитомех. газоанализатор: 1-ротор; 2-полюсы магнита; 3-растяжка; 4-зеркальце; 5-осветитель; 6-шкала вторичного прибора.

Действие термомагнитных Г. основано на термомагн. конвекции газовой смеси, содержащей О2, в неоднородных магнитном и температурном полях. Часто применяют приборы с кольцевой камерой (рис. 4), которая представляет собой полое металлич. кольцо. Вдоль его диаметра установлена тонкостенная стеклянная трубка, на которую намотана платиновая спираль, нагреваемая электрич. током. Спираль состоит из двух секций - R1 и R2, первая из которых помещается между полюсами магнита. При наличии в газовой смеси О2 часть потока направляется через диаметральный канал, охлаждая первую секцию платиновой спирали и отдавая часть тепла второй. Изменение сопротивлений R1 и R2 вызывает изменение выходного напряжения U, пропорциональное содержанию О2 в анализируемой смеси.

Рис. 4. Термомагн. газоанализатор: 1 -кольцевая камера; 2-стеклянная трубка; 3-постоянный магнит; 4-источник стабилизиров. напряжения; 5-вторичный прибор; Rt и R2 -соотв. рабочий и сравнит. терморезисторы (секции платиновой спирали); R3 и R4 -постояниые резисторы.

Пневматические газоанализаторы. Их действие основано на зависимости плотности и вязкости газовой смеси от ее состава. Изменения плотности и вязкости определяют измеряя гидромех. параметры потока. Распространены пневматич. Г. трех типов.

Г. с дроссельными преобразователями измеряют гидравлич. сопротивление дросселя (капилляра) при пропускании через него анализируемого газа. При постоянном расходе газа перепад давления на дросселе - ф-ция плотности (турбулентный дроссель), вязкости (ламинарный дроссель) или того и другого параметра одновременно.

Струйные Г. измеряют динамич. напор струи газа, вытекающего из сопла. Содержат два струйных элемента типа "сопло-приемный канал" (рис. 5). Для подачи анализируемого и сравнит. газов служит эжектор 2. Давление на выходе из элементов поддерживается регулятором 4. Равенство давлений газов на входе в элементы обеспечивается соединит. каналом 5 и настройкой вентиля 6. Разница динамич. давлений (напоров), воспринимаемых трубками 1б,- ф-ция отношения и мера концентрации определяемого компонента газовой смеси. Струйные Г. используют, например, в азотной промышленности для измерения содержания Н2 в азоте (диапазон измерения 0-50%), в хлорной промышленности - для определения С12 (0-50 и 50-100%). Время установления показаний этих Г. не превышает неск. секунд, поэтому их применяют также в газосигнализаторах довзрывных концентраций газов и паров некоторых веществ (напр., дихлорэтана, винилхлорида) в воздухе пром. помещений.

Рис. 5. Пневматический струйный газоанализатор: 1 - элемент "сопло-приемный канал"; 1а-сопло; 1б-приемная трубка; 2-эжсктор; 3-вторичный прибор; 4 -регулятор давления; 5 -соединит, канал; 6-вентиль.

Пневмоакустические Г. содержат два свистка (рис. 6) с близкими частотами (3-5 кГц), через один из которых проходит анализируемый газ, через второй - сравнительный. Частота биений звуковых колебаний в смесителе частот зависит от плотности анализируемого газа. Биения (частота до 120 Гц) усиливаются и преобразуются в пневматич. колебания усилителем. Для получения выходного сигнала (давления) служит частотно-аналоговый преобразователь.

Рис. 6. Пневмоакустич. газоанализатор: 1 -свисток; 2-смеситель частот; 3 - усилитель - преобразователь ; 4 - частотно-аналоговый преобразователь; 5-вторичный прибор.

Пневматич. Г. не обладают высокой избирательностью. Они пригодны для анализа смесей, в которых изменяется концентрация только одного из компонентов, а соотношение между концентрациями других остается постоянным. Диапазон измерения - от единиц до десятков процентов. Пневматич. Г. не содержат электрич. элементов и поэтому могут использоваться в помещениях любой категории пожаро- и взрывоопасности. Элементы схемы, контактирующие с газами, выполнены из стекла и фторопласта, что позволяет анализировать весьма агрессивные газы (хлор-, серосодержащие и др.).

Инфракрасные газоанализаторы. Их действие основано на избйрат. поглощении молекулами газов и паров ИК-излучения в диапазоне 1-15 мкм. Это излучение поглощают все газы, молекулы которых состоят не менее чем из двух разл. атомов. Высокая специфичность молекулярных спектров поглощения разл. газов обусловливает высокую избирательность таких Г. и их широкое применение в лабораториях и промышленности. Диапазон измеряемых концентраций 10-3 -100%. В дисперсионных Г. используют излучение одной длины волны, полученное с помощью монохроматоров (призмы, дифракц. решетки). В недисперсионных Г., благодаря особенностям оптич. схемы прибора (применению светофильтров, спец. приемников излучения и т.д.), используют немонохроматич. излучение. В кач-ве примера на рис. 7 приведена Наиб. распространенная схема такого Г. Излучение от источника последовательно проходит через светофильтр и рабочую кювету, в которую подается анализируемая смесь, и попадает в спец. приемник. Если в анализируемой смеси присутствует определяемый компонент, то в зависимости от концентрации он поглощает часть излучения, и регистрируемый сигнал пропорционально изменяется. Источником излучения обычно служит нагретая спираль с широким спектром излучения, реже - ИК-лазер или светодиод, испускающие излучение в узкой области спектра. Если используется источник немонохроматич. излучения, избирательность определения достигается с помощью селективного приемника.

Рис. 7. Недисперсионный инфракрасный газоанализатор: 1-источник излучения; 2-светофильтр; 3-модулятор; 4 и 4'-соотв. рабочая и сравнит. (внизу) кюветы; 5-приемник излучения; 6-усилитель; 7-вторичный прибор.

Наиб. распространены Г. с газонаполненным оптико-акустическим приемником. Последний представляет собой герметичную камеру с окном, заполненную именно тем газом, содержание которого нужно измерить. Этот газ, поглощая из потока излучения определенную часть с характерным для данного газа набором спектральных линий, нагревается, вследствие чего давление в камере увеличивается. Посредством мех. модулятора поток излучения прерывается с определ. частотой. В результате с этой же частотой пульсирует давление газа в приемнике. Амплитуда пульсации давления - мера интенсивности поглощенного газом излучения, зависящая от того, какая часть характерного излучения поглощается тем же газом в рабочей кювете. Др. компоненты смеси излучение на этих длинах волн не поглощают. Т. обр., амплитуда пульсации давления в приемнике излучения - мера кол-ва определяемого компонента в анализируемой смеси, проходящей через рабочую кювету. Изменение давления измеряют обычно конденсаторным микрофоном или микроанемометром (датчиком расхода газа). Заменяя газ в приемнике излучения оптико-акустич. Г., можно избирательно измерять содержание разл. компонентов смесей.

В инфракрасных Г. используют также неселективные приемники излучения - болометры, термобатареи, полупроводниковые элементы. Тогда в случае источников с широким спектром излучения избирательность определения обеспечивают применением интерференционных и газовых фильтров. Для повышения точности и стабильности измерения часть потока излучения обычно пропускают через сравнит. кювету, заполненную газом, не поглощающим регистрируемое излучение, и измеряют разность или отношение сигналов, полученных в результате прохождения излучения через рабочую и сравнит. кюветы.

Инфракрасные Г. широко используют для контроля кач-ва продукции, анализа отходящих газов, воздуха помещений. С их помощью определяют, например, СО, СО2, NH3, СН4 в технол. газах произ-ва синтетич. аммиака, пары ряда растворителей в воздухе пром. помещений, оксиды азота, SO2, СО и углеводороды в выхлопных газах автомобилей и т.д.

Ультрафиолетовые газоанализаторы. Принцип их действия основан на избират. поглощении молекулами газов и паров излучения в диапазоне 200-450 нм. Избирательность определения одноатомных газов весьма велика. Двух- и многоатомные газы имеют в УФ-области сплошной спектр поглощения, что снижает избирательность их определения. Однако отсутствие УФ-спектра поглощения у N2, O2, СО2 и паров воды позволяет во многих практически важных случаях проводить достаточно селективные измерения в присут. этих компонентов. Диапазон определяемых концентраций обычно 10-2-100% (для паров Hg ниж. граница диапазона 2,5-10-6%).

Схема ультрафиолетового Г. аналогична схеме, приведенной на рис. 7. Имеются также приборы с двумя детекторами излучения без модулятора, в которых световые потоки не прерываются. В кач-ве источников излучения обычно применяют ртутные лампы низкого ( = 253,7 нм) и высокого (спектр с большим набором линий) давлений, газоразрядные лампы с парами др. металлов ( =280, 310 и 360 нм), лампы накаливания с вольфрамовой нитью, водородные и дейтериевые газоразрядные лампы. Приемники излучения - фотоэлементы и фотоумножители. При использовании неселективного источника излучения избирательность измерения в большинстве приборов обеспечивают с помощью оптич. фильтров (стеклянных или интерференционных).

Ультрафиолетовые Г. применяют главным образом для автоматич. контроля содержания С12, О3, SO2, NO2, H2S, C1O2, дихлорэтана, в частности в выбросах пром. предприятий, а также для обнаружения паров Hg, реже Ni (СО)4, в воздухе пром. помещений.

Люминесцентные газоанализаторы. В хемилюминесцентных Г. измеряют интенсивность люминесценции, возбужденной благодаря хим. реакции контролируемого компонента с реагентом в твердой, жидкой или газообразной фазе. Пример - взаимод. NO с О3, используемое для определения оксидов азота:

N0 + 03 -> N02+ + 02 -> N02 + hv + 02

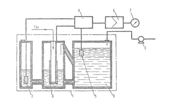
Схема хемилюминесцентного Г. с газообразным реагентом представлена на рис. 8. Анализируемая смесь и реагент через дроссели поступают в реакц. камеру. Побудитель расхода (насос) обеспечивает необходимое давление в камере. При наличии в смеси определяемого компонента излучение, сопровождающее хемилюминесцентную реакцию, через светофильтр подается на катод фотоумножителя, который расположен в непосредств. близости к реакц. камере. Электрич. сигнал с фотоумножителя, пропорциональный концентрации контролируемого компонента, после усиления поступает на вторичный прибор. При измерении слабых световых потоков, возникающих при малых концентрациях определяемого компонента, фотокатод охлаждают электрич. микрохолодильниками с целью уменьшения темнового (фонового) тока.

Рис. 8. Хемилюминесцентный газоанализатор: 1-рсакц. камера; 2-светофильтр; 3 - фотоумножитель; 4-вторичный прибор; 5-побудитель расхода газа; 6-дроссели.

Для измерения содержания NO2 в приборе предусмотрен конвертер, где NO2 превращается в NO, после чего анализируемая смесь направляется в реакц. камеру. При этом выходной сигнал пропорционален суммарному содержанию NO и NO2. Если же смесь поступает, минуя конвертер, то по выходному сигналу находят концентрацию только NO. По разности этих сигналов судят о содержании NO 2 в смеси.

Высокая избирательность хемилюминесцентных Г. обусловлена специфичностью выбранной реакции, однако сопутствующие компоненты в смеси могут изменять чувствительность прибора. Такие Г. применяют для определения NO, NO2, NH3, O3 в воздухе в диапазоне 10-7-1%.

В флуоресцентных Г. измеряют интенсивность флуоресценции (длина волны ), возникающей при воздействии на контролируемый компонент УФ-излучения (с частотой v1). В кач-ве примера на рис. 9 представлена схема такого Г. для определения SO2 в воздухе. Анализируемая смесь поступает в детекторную камеру, которая отделена от импульсного источника УФ-излучения и от фотоумножителя светофильтрами 3 и 4, пропускающими излучение с длинами волн соотв. и . Фотоумножитель, расположенный под углом 90° к источнику излучения, регистрирует импульсы флуоресценции, амплитуда которых пропорциональна концентрации определяемого компонента в камере. Электрич. сигнал с фотоумножителя после усиления и обработки поступает на вторичный прибор. Г. для определения SO2 характеризуются высокой чувствительностью и избирательностью. Они используются в автоматич. станциях контроля окружающей среды.

Рис. 9. Флуоресцентный газоанализатор: 1 -детекторная камера; 2-источник УФ-излучения; 3-светофильтр возбуждающего излучения; 4 -светофильтр люминесценции; 5-зеркало; 6-фотоумножитель; 7-вторичный прибор.

Для удаления паров воды, влияющих на показания люминесцентных Г., применяют спец. фильтры (типа молекулярного сита) на входе потока газа в камеру.

Фотоколориметрические газоанализаторы. Эти приборы измеряют интенсивность окраски продуктов избират. реакции между определяемым компонентом и специально подобранным реагентом. Р-цию осуществляют, как правило, в растворе (жидкостные Г.) или на твердом носителе в виде ленты, таблетки, порошка (соотв. ленточные, таблеточные, порошковые Г.).

Рис. 10. Жидкостной фотоколориметрич. газоанализатор: 1 -источник излучения; 2-светофильтр; 3 и 3'-рабочая и сравнит. кюветы; 4-абсорбер; 5 и 5'-приемники излучения; б-усилитель; 7-вторичный прибор.

Принципиальная схема жидкостного Г. представлена на рис. 10. Излучение от источника проходит через рабочую и сравнит. кюветы и поступает на соответствующие приемники излучения. Индикаторный раствор протекает с постоянной скоростью через обе кюветы и абсорбер. Навстречу потоку раствора через абсорбер барботирует анализируемый газ. Определяемый компонент, присутствующий в газе, взаимод. с реагентом в растворе, вызывая изменение оптич. плотности в рабочей кювете, пропорциональное концентрации компонента. В результате интенсивность излучения через одну из кювет изменяется, а через другую-нет. Разность (или отношение) сигналов рабочего и сравнит. каналов - мера концентрации определяемого компонента в анализируемой смеси.

Подача раствора может быть как непрерывной, так и периодической. При периодич. подаче анализируемый газ пропускают в течение некоторого времени через одну и ту же порцию раствора, что позволяет повысить чувствительность определения. Такие Г. дают возможность измерить среднюю концентрацию определяемого компонента за заданный промежуток времени, например при установлении среднесменных или среднесуточных концентраций токсичных примесей в воздухе.

В ленточных Г. (рис. 11) анализируемый газ поступает в газовую камеру, через которую непрерывно или с заданной периодичностью протягивается лента с нанесенным на нее реактивом. В результате реакции с определяемым компонентом на ленте образуется цветовое пятно, интенсивность окраски которого пропорциональна концентрации компонента. Разность (или отношение) световых потоков, отраженных от окраш. и неокраш. участков ленты, - мера концентрации контролируемого компонента в смеси. Иногда используют индикаторную ленту с жидким реактивом. В этом случае реактив наносится на ленту из капельницы непосредственно перед ее контактом с газом.

Рис. 11. Ленточный фотоколориметрич. газоанализатор: 1 -источник излучения; 2-индикаторная лента; 3-светофильтр; 4 и 4'-приемники излучения; 5-газовая камера; 6-усилитель; 7-вторичный прибор.

Принцип действия таблеточных и порошковых Г. такой же, как у ленточных, но эти приборы, как правило, циклич. действия. Для получения чистой пов-сти перед каждым циклом измерения срезается верх. окраш. слой таблетки или заменяется порция порошка.

Время работы ленточных и таблеточных Г. без замены ленты или таблетки достигает 30 сут и более. Источники излучения в фотоколориметрич. Г.-обычно лампы накаливания и полупроводниковые светодиоды, фотоприемники — фотоумножители, фотоэлементы, фотодиоды и фототранзисторы. Эти приборы позволяют с высокой избирательностью определять разл. газообразные (парообразные) вещества в диапазоне концентраций 10-5-1%. Особенно высока чувствительность у Г. периодич. действия; их недостаток - некрое запаздывание показаний.

Фотоколориметрич. Г. применяют главным образом для измерения концентраций токсичных примесей (напр., оксидов азота, О2, С12, CS2, O3, H2S, NH3, HF, фосгена, ряда орг. соед.) в атмосфере пром. зон и в воздухе пром. помещений. При контроле загрязнений воздуха широко используют переносные приборы периодич. действия. Значит. число фотоколориметрич. Г. применяют в качестве газосигнализаторов.

Электрохимические газоанализаторы. Их действие основано на зависимости между параметром электрохим. системы и составом анализируемой смеси, поступающей в эту систему.

В кондуктометрических Г. измеряется электропроводность раствора при селективном поглощении им определяемого компонента. Обычно схема прибора включает элек-трич. мост постоянного или переменного тока с двумя кондуктометрич. ячейками, через которые протекает электролит. В одну из ячеек электролит поступает после контакта с потоком анализируемого газа. Выходной сигнал пропорционален разности электропроводностей раствора до и после контакта с контролируемой смесью. Эта разность зависит от концентрации растворенного в электролите определяемого компонента. Изменяя расходы электролита и анализируемой смеси, можно в широких пределах изменять диапазон определяемых концентрации. Недостатки этих Г.-низкая избирательность и длительность установления показаний при измерении малых концентраций. Кондуктометрич. Г. широко применяют для определения О2, СО, SO2, H2S, NH3 и др.

Действие потенциометрических Г. основано на зависимости потенциала Е индикаторного электрода от активности а электрохимически активных ионов, образовавшихся при растворении определяемого компонента:

где E°-стандартный электродный потенциал, R- универсальная газовая постоянная, Т - абс. температура, F- число Фарадея, n-число электронов, участвующих в электрохим. реакции. Измеряемое значение Е пропорционально концентрации контролируемого компонента, растворенного в электролите. Эти Г. применяют для определения СО2, H2S, HF, NH3, SO2 и др.

Большое распространение получили потенциометрич. Г. с твердым электролитом для измерения содержания О2. Керамич. пластина на основе СаО и ZrO2 при высокой температуре начинает проводить ионы кислорода, т.е. ведет себя как электролит. На пов-сть такой пластины с обеих сторон наносят тонкие слои пористой платины (платиновые электроды). С одной стороны пластины подают анализируемую газовую смесь, с другой - сравнительный газ. Разность потенциалов между электродами - мера содержания О2. Термостат поддерживает температуру электрохим. ячейки в нужном диапазоне. С помощью таких Г. определяют О2 в широком диапазоне концентраций (10-4-100% по объему). Присутствие углеводородов в анализируемой смеси приводит к искажению результатов из-за их окисления при высокой температуре.

Действие амперометрических Г. основано на зависимости между электрич. током и кол-вом определяемого компонента, прореагировавшим на индикаторном электроде. Если контролируемый компонент полностью вступает в электрохим. р-цию, то выполняется закон Фарадея: I = = nFQC, где I-ток, Q- расход газа, С-концентрация определяемого компонента, F-число Фарадея, n-число электронов, участвующих в реакции.

Электрохим. превращение данного компонента газовой смеси со 100%-ным выходом по току (т.е. отсутствие побочных электродных реакций) обеспечивается выбором индикаторного электрода и его потенциала. Необходимое постоянное значение разности потенциалов поддерживается благодаря тому, что сравнит. и индикаторный электроды выполняют из двух разных специально подобранных металлов, например из Аи и Zn, Au и Pb, Ni и Cd (ячейки гальванич. типа). Разность потенциалов можно стабилизировать и посредством электронной системы с использованием третьего вспомогат. электрода (ячейки потенциостатич. типа).

Рис. 12. Амперометрич. газоанализатор: 1-электрохим. ячейка; 2-вспомогат. электрод; 3-измерит, электрод; 4-потенциостат; 5 -электрод сравнения; 6-усилитель; 7-вторичный прибор; 8-побудитель расхода газа; 9-камера с запасным электролитом.

Амперометрич. Г. применяют для определения газов, обладающих окислит.-восстановит. св-вами, например SO2, NO2, H2S, О2, С12, О3. В Г. для измерения содержания SO2 в воздухе (рис. 12) анализируемый газ поступает на измерит. электрод 3 электрохим. ячейки и по газовому каналу - в камеру с запасным электролитом 9, в который помещен электрод сравнения 5. Вспомогат. электрод 2 расположен в отдельной камере, которая, как и камера 9, соединена с камерой измерит. электрода электролитич. каналом. Достоинства амперометрич. Г.-высокая чувствительность и избирательность.

Кроме рассмотренной выше конструкции электрохим. ячейки барботажного типа (с непосредств. продуванием смеси через электролит) широкое применение находят ячейки с т. наз. газодиффузионными электродами, где газ отделен от электролита пористой газопроницаемой полимерной мембраной. Со стороны, контактирующей с электролитом, на мембрану наносят мелкодисперсный электродный материал (Pt, Pd, Au). Такие системы отличаются более высокой чувствительностью и стабильностью характеристик.

В основе кулонометрических Г. компенсац. типа лежит метод кулонометрич. титрования, который заключается в электрохим. получении (генерировании) реагента-титранта, способного быстро взаимод. с определяемым компонентом газовой смеси, растворенным в электролите. Этот Г. включает цепи генерирования и индикации. Электрохим. ячейка содержит соотв. две пары электродев - катод и анод, на которых идет электролиз и генерируется титрант, а также индикаторный электрод и электрод сравнения. Ток электролиза автоматически поддерживается постоянным. После того как все контролируемое вещество полностью прореагирует с электрогенерированным титрантом, окислит.-восстановит. потенциал системы резко изменяется, что обнаруживается по скачку потенциала индикаторного электрода. Кол-во электричества, прошедшее через ячейку до завершения реакции, эквивалентно концентрации определяемого компонента.

Ионизационные газоанализаторы. Их действие основано на зависимости электрич. проводимости ионизов. газов от их состава. Появление в газе примесей оказывает дополнит. воздействие на процесс образования ионов или на их подвижность и, следовательно, рекомбинацию. Возникающее при этом изменение проводимости пропорционально содержанию примесей.

Все ионизац. Г. содержат проточную ионизац. камеру (как на рис. 13), на электроды которой налагают определенную разность потенциалов. Эти приборы широко применяют для контроля микропримесей в воздухе, а также в кач-ве детекторов в газовых хроматографах. Ниже рассмотрены Наиб. распространенные типы ионизац. Г., используемые без предварительного хроматографич. разделения пробы.

Рис. 13. Радиоизотопный ионизац. газоанализатор: 1 -ионизац. камера; 2-источник ионизации; 3-электроды; 4-источник напряжения; 5-усилитель; 6-вторичный прибор.

К радиоизотопным Г. (рис. 13), в которых ионизацию газов осуществляют радиоактивным излучением, относятся приборы на основе сечения ионизации, электронно-захватные и аэрозольно-ионизационные. В первых используют разницу в сечениях (вероятности) ионизации компонентов смеси. Ионизацию осуществляют обычно излучением 90Sr, 3H, 63Ni, 147Pm. Эти Г. не избирательны, их применяют для анализа смесей H2-N2, N2-CO2, Н2 - этилен, Н2-СН4, H2-CH3SiCl3, H2-BC13 и т.п.; диапазон измерения 0,01-100%; время установления показаний - до 0,1 с.

Действие электронно-захватных Г. основано на способности молекул ряда в-в (О2, Н2О, галогены, галогенсодержащие орг. соед., ароматич. углеводороды, спирты, карбонильные соед. и др.) захватывать своб. электроны, возникающие при ионизации газов, и превращаться при этом в ионы. Последние имеют меньшую подвижность, чем электроны, в результате чего ионизац. ток падает пропорционально концентрации вещества. Электронно-захватные Г. применяют для контроля примесей (в частности, галогенов при их концентрации 10-3-104%) в чистых газах и воздухе. При определении примесей в воздухе на входе в Г. обычно помещают полимерные мембраны, задерживающие О2.

В основе действия аэрозольно-ионизационных Г. лежит зависимость ионизац. тока от концентрации аэрозольных частиц, образующихся после предварительного избират. перевода определяемого компонента смеси в аэрозоль. Этот перевод осуществляют обычно хим. реакцией с соответствующим реагентом или фотохим. р-цией в газовой фазе, пиролизом исследуемого вещества, а также сочетанием пиролиза с послед. хим. реакцией с реагентом. Напр., при определении NH3 в кач-ве реагента можно использовать пары соляной кислоты; в результате образуется аэрозоль NH4C1. Размер аэрозольных частиц 10-7-10-4 см. Концентрации анализируемых компонентов 10-5-10-3%. Аэрозольно-иониза-ционный Г. используют, в частности, для определения микропримесей NH3, аминов, НС1, HF, NO2, паров HNO3, карбонилов Ni и Со, фосгена и ряда др. соед. в воздухе пром. помещений.

В пламенно-ионизационных Г. анализируемые орг. соед. ионизуют в водородном пламени. Эффективность ионизации пропорциональна числу атомов С, поступающих в пламя в единицу времени, но зависит также от наличия в молекуле вещества атомов др. элементов. Схема такого прибора представлена на рис. 14. Горелка служит одним из электродов ионизац. камеры. Второй электрод ("коллекторный") - тонкостенный цилиндр или кольцо. Эти Г. используют для определения орг. в-в в воздухе и технол. газах. При совместном присутствии ряда орг. компонентов находят либо их сумму, либо концентрацию компонентов со значительно большей эффективностью ионизации. С помощью пламенно-ионизационных Г. контролируют изменения суммарного содержания углеводородов в атмосфере и токсичные примеси в воздухе пром. помещений, чистоту выхлопных газов автомобилей, утечки газов из трубопроводов и подземных коммуникаций. Диапазон измеряемых концентраций 10-5-1%. Имеется непосредств. взаимосвязь между эффективностью ионизации орг. газов и паров и степенью взрывоопасности их смесей с воздухом. Это позволяет контролировать довзрывные концентрации орг. веществ в пром. помещениях, шахтах, туннелях.

Рис. 14. Пламенно-ионизац. газоанализатор: 1-ионизац. камера; 2-горелка; 3-коллекторный электрод; 4-источник напряжения; 5-усилитель; 6-вторичный прибор.

В поверхностно-ионизационных Г. образуются положит. ионы при адсорбции газов на нагретых пов-стях металлов или их оксидов. Ионизоваться могут компоненты с достаточно низкими потенциалами ионизации, сравнимыми по величине с работой выхода электронов из нагретой пов-сти (эмиттера). Обычно ионизуются не контролируемые компоненты смеси, а продукты их реакций на каталитически активной пов-сти. В кач-ве эмиттеров применяют, например, нагреваемые током спирали из Pt, оксидов Мо или W. Нагретый эмиттер одновременно служит одним из электродов ионизац. камеры. Второй ("коллекторный") электрод выполняют в виде наружного цилиндра. Т-ру нагрева эмиттера изменяют от 350 до 850 °С. С помощью таких Г. определяют фенол, уксусную и муравьиную кислоты, а также (с высокой избирательностью) азотсодержащие орг. соед., в частности анилин, амины, гидразины. Созданы приборы для контроля ряда аминов (диэтиламин, триэтиламин и др.) в воздухе пром. помещений. Диапазон измеряемых концентраций 10-5-10-2%.

В т. наз. "галогенных" Г. на пов-сти платины, нагретой до 800-850 °С, ионизуются щелочные металлы (обычно Na и К), добавляемые в виде солей в зону нагрева и ионизации. Эмиссия щелочных ионов зависит от содержания в окружающем воздухе галогенов и их соединений. Эти приборы позволяют определять галогены (С1, Вг) в воздухе пром. помещений, хладоны при контроле герметичности холодильных установок и бытовых аэрозольных баллончиков с пределами обнаружения ок. 10-4%.

В фотоионизационных Г. молекулы определяемого компонента ионизуются УФ-излучением. Это возможно, если энергия фотонов не ниже потенциала ионизации молекул. В кач-ве источников излучения используют лампы, генерирующие фотоны с энергиями 9,5, 10, 10,2, 10,9 и 11,7 эВ. Осн. компоненты воздуха2, N2, CO, СО2, Н2О), а также СН4 имеют потенциалы ионизации в диапазоне 12-20 эВ и такими фотонами не ионизуются. Фотоионизац. Г. применяют для контроля примесей ароматич. и непредельных углеводородов, альдегидов, кетонов, спиртов и других орг. соед. в воздухе с пределами обнаружения 10-5 -10-4%. Подбирая излучение с подходящей энергией, можно избирательно определять, например, ароматич. соединения в присутствии алканов и кислородсодержащих орг. соед., меркаптаны в присут. H2S.

Полупроводниковые газоанализаторы. Их действие основано на изменении сопротивления полупроводника (пленки или монокристалла) при воздействии анализируемого компонента смеси. В основе работы полупроводниковых окисных Г. лежит изменение проводимости чувствит. слоя (смеси оксидов металлов) при хемосорбции на его пов-сти молекул химически активных газов (рис. 15). Такие Г. применяют для определения горючих газов (в частности, Н2, СН4, пропана), а также О2, СО2 и др. Селективность анализа достигается варьированием состава чувствит. слоя и его температуры (при помощи встроенного нагревателя). Диапазон измеряемых концентраций горючих газов 0,01-1% по объему.

Рис. 15. Полупроводниковый окисный газоанализатор: 1-подложка; 2-контакты; 3-чувствит. слой; 4-нагреват. элемент; 5-вторичный прибор; 6-источник напряжения.

В полупроводниковых Г. с кристаллическими чувствит. элементами измеряют проводимость монокристалла или более сложной полупроводниковой структуры с р-n-переходами при изменении зарядового состояния пов-сти, т.е. концентрации или распределения зарядов на ней. Напр., для определения Н2 используют чувствит. элементы в виде системы слоев металл - диэлектрик - полупроводник (канальные транзисторы), причем верх. металлич. слой получают из Pd или его сплавов. Изменение зарядового состояния пов-сти достигается изменением контактной разности потенциалов между полупроводником и Pd при растворении в последнем Н2, присутствующего в анализируемой смеси. Диапазон измеряемых концентраций Н2 в инертных газах 10-5-10-3%.

Для серийного произ-ва полупроводниковых Г. применяют совр. технологию микроэлектроники, что позволяет создавать измерит. преобразователь, включающий чувствит. элемент, систему термостатирования и усилитель электрич. сигнала в виде отдельного микромодуля.

Лит.: Павленко В. А., Газоанализаторы, М.-Л., 1965; Бражников В. В., Дифференциальные детекторы для газовой хроматографии, М., 1974; Кулаков М. В., Технологические измерения и приборы для химических производств, М., 1983. А.М.Дробиз, В.А.Рылов, В.Ю.Рыжнев.

Газоанализаторы, приборы, измеряющие содержание (концентрацию) одного или неск. компонентов в газовых смесях (см. также Газовый анализ). Каждый газоанализатор предназначен для измерения концентрации только определенных компонентов на фоне конкретной газовой смеси в нормиров. условиях. Наряду с использованием отдельных газоанализаторов создаются системы газового контроля, объединяющие десятки таких приборов. В большинстве случаев работа газоанализаторов невозможна без ряда вспомогат. устройств, обеспечивающих создание необходимых температуры и давления, очистку газовой смеси от пыли и смол, а в ряде случаев и от некоторых мешающих измерениям компонентов и агрессивных веществ. Газоанализаторы классифицируют по принципу действия на пневматические, магнитные, электрохимические, полупроводниковые и др. Ниже излагаются физ. основы и области применения Наиб. распространенных газоанализаторов.

Термокондуктометрические газоанализаторы. Их действие основано на зависимости теплопроводности газовой смеси от ее состава. Для большинства практически важных случаев справедливо ур-ние:

где -теплопроводность смеси, - теплопроводность i - того компонента, Ci - eгo концентрация, n-число компонентов.

Термокондуктометрич. газоанализаторы не обладают высокой избирательностью и используются, если контролируемый компонент по теплопроводности существенно отличается от остальных, например для определения концентраций Н2, Не, Аг, СО2 в газовых смесях, содержащих N2, О2 и др. Диапазон измерения - от единиц до десятков процентов по объему.

Изменение состава газовой смеси приводит к изменению ее теплопроводности и, как следствие, температуры и электрич. сопротивления нагреваемого током металлич. или полупроводникового терморезистора, размещенного в камере, через которую пропускается смесь. При этом:

где a-конструктивный параметр камеры, R1 и R2- сопротивление терморезистора в случае пропускания через него тока I при теплопроводности газовой среды соотв. и , -температурный коэф. электрич. сопротивления терморезистора.

Рис. 1. Термокондуктометрич. газоанализатор: 1 -источник стабилизиров. напряжения; 2-вторичный прибор; R1 и R3 - рабочие терморезисторы; R2 и R4 -сравнит. терморезисторы; R0 и потенциометры; вход и выход анализируемой газовой смеси показаны стрелками.

На рис. 1 приведена схема, применяемая во многих Термокондуктометрич. газоанализаторах Чувствит. элементы R1 и R3 (рабочие терморезисторы) омываются анализируемой смесью; сравнит. терморезисторы R2 и R4 помещены в герметичные ячейки, заполненные сравнит. газом точно известного состава. Потенциометры R0 и предназначены для установки нулевых показаний и регулировки диапазона измерения. Мера концентрации определяемого компонента - электрич. ток, проходящий через , который измеряется вторичным (т.е. показывающим или регистрирующим) прибором. Термокондуктометрич. газоанализаторы широко применяют для контроля процессов в произ-ве H2SO4, NH3, HNO3, в металлургии и др.

Термохимические газоанализаторы. В этих приборах измеряют тепловой эффект хим. реакции, в которой участвует определяемый компонент. В большинстве случаев используется окисление компонента кислородом воздуха; катализаторы - марганцевомедный (гопкалит) или мелкодисперсная Pt, нанесенная на поверхность пористого носителя. Изменение температуры при окислении измеряют с помощью металлич. или полупроводникового терморезистора. В ряде случаев поверхность платинового терморезистора используют как катализатор. Величина связана с числом молей М окислившегося компонента и тепловым эффектом соотношением: , где k-коэф., учитывающий потери тепла, зависящие от конструкции прибора.

Схема (рис. 2) включает измерит. мост с постоянными резисторами (R1 и R4)и двумя терморезисторами, один из которых (R2)находится в атмосфере сравнит. газа, а второй (R3)омывается потоком анализируемого газа. Напряжение Uвых в диагонали моста пропорционально концентрации определяемого компонента. Для устойчивой работы газоанализатора исключают влияние температуры среды (термостатированием или термокомпенсацией), стабилизируют напряжение, поддерживают постоянным расход газа, очищают его от примесей, отравляющих катализатор (С12, НС1, H2S, SO2 и др.).

Рис. 2. Термохим. газоанализатор: 1- источник стабилизиров. напряжения; 2-вторичный прибор; R1 и R4 - постоянные резисторы; R2 и R3-соотв, сравнительный и рабочий терморезисторы.

Большинство термохим. газоанализаторов используют в кач-ве газосигнализаторов горючих газов и паров2, углеводороды и др.) в воздухе при содержании 20% от их ниж. КПВ, а также при электролизе воды для определения примесей водорода в кислороде (диапазон измерения 0,02-2%) и кислорода в водороде (0,01-1%).

Магнитные газоанализаторы. Применяют для определения О2. Их действие основано на зависимости магн. восприимчивости газовой смеси от концентрации О2, объемная магн. восприимчивость которого на два порядка больше, чем у большинства остальных газов. Такие Г. позволяют избирательно определять О2 в сложных газовых смесях. Диапазон измеряемых концентраций 10-2 - 100%. Наиб. распространены магнитомех. и термомагн. газоанализаторы.

В магнитомеханических газоанализаторах (рис. 3) измеряют силы, действующие в неоднородном магн. поле на помещенное в анализируемую смесь тело (обычно ротор). Сила F, выталкивающая тело из магн. поля, определяется выражением:

где и -объемная магн. восприимчивость соотв. анализируемой смеси и тела, помещенного в газ, V-объем тела, H-напряженность магн. поля. Обычно мерой концентрации компонента служит вращающий момент, находимый по углу поворота ротора. Показания магнитомех. газоанализаторов определяются магн. свойствами анализируемой газовой смеси и зависят от температуры и давления, поскольку последние влияют на объемную магн. восприимчивость газа.

Более точны газоанализаторы, выполненные по компенсац. схеме. В них момент вращения ротора, функционально связанный с концентрацией О2 в анализируемой смеси, уравновешивается известным моментом, для создания которого используются магнитоэлектрич. или электростатич. системы. Роторные газоанализаторы ненадежны в промышленных условиях, их сложно юстировать.

Рис. 3. Магнитомех. газоанализатор: 1-ротор; 2-полюсы магнита; 3-растяжка; 4-зеркальце; 5-осветитель; 6-шкала вторичного прибора.

Действие термомагнитных газоанализаторов основано на термомагн. конвекции газовой смеси, содержащей О2, в неоднородных магнитном и температурном полях. Часто применяют приборы с кольцевой камерой (рис. 4), которая представляет собой полое металлич. кольцо. Вдоль его диаметра установлена тонкостенная стеклянная трубка, на которую намотана платиновая спираль, нагреваемая электрич. током. Спираль состоит из двух секций - R1 и R2, первая из которых помещается между полюсами магнита. При наличии в газовой смеси О2 часть потока направляется через диаметральный канал, охлаждая первую секцию платиновой спирали и отдавая часть тепла второй. Изменение сопротивлений R1 и R2 вызывает изменение выходного напряжения U, пропорциональное содержанию О2 в анализируемой смеси.

Рис. 4. Термомагн. газоанализатор: 1 -кольцевая камера; 2-стеклянная трубка; 3-постоянный магнит; 4-источник стабилизиров. напряжения; 5-вторичный прибор; Rt и R2 -соотв. рабочий и сравнит. терморезисторы (секции платиновой спирали); R3 и R4 -постояниые резисторы.

Пневматические газоанализаторы. Их действие основано на зависимости плотности и вязкости газовой смеси от ее состава. Изменения плотности и вязкости определяют измеряя гидромех. параметры потока. Распространены пневматич. Г. трех типов.

Газоанализаторы с дроссельными преобразователями измеряют гидравлич. сопротивление дросселя (капилляра) при пропускании через него анализируемого газа. При постоянном расходе газа перепад давления на дросселе - ф-ция плотности (турбулентный дроссель), вязкости (ламинарный дроссель) или того и другого параметра одновременно.

Струйные газоанализаторы измеряют динамич. напор струи газа, вытекающего из сопла. Содержат два струйных элемента типа "сопло-приемный канал" (рис. 5). Для подачи анализируемого и сравнит. газов служит эжектор 2. Давление на выходе из элементов поддерживается регулятором 4. Равенство давлений газов на входе в элементы обеспечивается соединит. каналом 5 и настройкой вентиля 6. Разница динамич. давлений (напоров), воспринимаемых трубками 1б,- ф-ция отношения и мера концентрации определяемого компонента газовой смеси. Струйные газоанализаторы используют, например, в азотной промышленности для измерения содержания Н2 в азоте (диапазон измерения 0-50%), в хлорной промышленности - для определения С12 (0-50 и 50-100%). Время установления показаний этих газоанализаторов не превышает неск. секунд, поэтому их применяют также в газосигнализаторах довзрывных концентраций газов и паров некоторых веществ (напр., дихлорэтана, винилхлорида) в воздухе пром. помещений.

Рис. 5. Пневматический струйный газоанализатор: 1 - элемент "сопло-приемный канал"; 1а-сопло; 1б-приемная трубка; 2-эжсктор; 3-вторичный прибор; 4 -регулятор давления; 5 -соединит, канал; 6-вентиль.

Пневмоакустические газоанализаторы содержат два свистка (рис. 6) с близкими частотами (3-5 кГц), через один из которых проходит анализируемый газ, через второй - сравнительный. Частота биений звуковых колебаний в смесителе частот зависит от плотности анализируемого газа. Биения (частота до 120 Гц) усиливаются и преобразуются в пневматич. колебания усилителем. Для получения выходного сигнала (давления) служит частотно-аналоговый преобразователь.

Рис. 6. Пневмоакустич. газоанализатор: 1 -свисток; 2-смеситель частот; 3 - усилитель - преобразователь ; 4 - частотно-аналоговый преобразователь; 5-вторичный прибор.

Пневматич. газоанализаторы не обладают высокой избирательностью. Они пригодны для анализа смесей, в которых изменяется концентрация только одного из компонентов, а соотношение между концентрациями других остается постоянным. Диапазон измерения - от единиц до десятков процентов. Пневматич. газоанализаторы не содержат электрич. элементов и поэтому могут использоваться в помещениях любой категории пожаро- и взрывоопасности. Элементы схемы, контактирующие с газами, выполнены из стекла и фторопласта, что позволяет анализировать весьма агрессивные газы (хлор-, серосодержащие и др.).

Инфракрасные газоанализаторы. Их действие основано на избират. поглощении молекулами газов и паров ИК-излучения в диапазоне 1-15 мкм. Это излучение поглощают все газы, молекулы которых состоят не менее чем из двух разл. атомов. Высокая специфичность молекулярных спектров поглощения разл. газов обусловливает высокую избирательность таких газоанализаторов и их широкое применение в лабораториях и промышленности. Диапазон измеряемых концентраций 10-3 -100%. В дисперсионных газоанализаторах используют излучение одной длины волны, полученное с помощью монохроматоров (призмы, дифракц. решетки). В недисперсионных газоанализаторах, благодаря особенностям оптич. схемы прибора (применению светофильтров, спец. приемников излучения и т.д.), используют немонохроматич. излучение. В кач-ве примера на рис. 7 приведена Наиб. распространенная схема такого газоанализатора. Излучение от источника последовательно проходит через светофильтр и рабочую кювету, в которую подается анализируемая смесь, и попадает в спец. приемник. Если в анализируемой смеси присутствует определяемый компонент, то в зависимости от концентрации он поглощает часть излучения, и регистрируемый сигнал пропорционально изменяется. Источником излучения обычно служит нагретая спираль с широким спектром излучения, реже - ИК-лазер или светодиод, испускающие излучение в узкой области спектра. Если используется источник немонохроматич. излучения, избирательность определения достигается с помощью селективного приемника.

Рис. 7. Недисперсионный инфракрасный газоанализатор: 1-источник излучения; 2-светофильтр; 3-модулятор; 4 и 4'-соотв. рабочая и сравнит. (внизу) кюветы; 5-приемник излучения; 6-усилитель; 7-вторичный прибор.

Наиб. распространены газоанализаторы с газонаполненным оптико-акустическим приемником. Последний представляет собой герметичную камеру с окном, заполненную именно тем газом, содержание которого нужно измерить. Этот газ, поглощая из потока излучения определенную часть с характерным для данного газа набором спектральных линий, нагревается, вследствие чего давление в камере увеличивается. Посредством мех. модулятора поток излучения прерывается с определ. частотой. В результате с этой же частотой пульсирует давление газа в приемнике. Амплитуда пульсации давления - мера интенсивности поглощенного газом излучения, зависящая от того, какая часть характерного излучения поглощается тем же газом в рабочей кювете. Др. компоненты смеси излучение на этих длинах волн не поглощают. Т. обр., амплитуда пульсации давления в приемнике излучения - мера кол-ва определяемого компонента в анализируемой смеси, проходящей через рабочую кювету. Изменение давления измеряют обычно конденсаторным микрофоном или микроанемометром (датчиком расхода газа). Заменяя газ в приемнике излучения оптико-акустич. газоанализатора, можно избирательно измерять содержание разл. компонентов смесей.

В инфракрасных газоанализаторах используют также неселективные приемники излучения - болометры, термобатареи, полупроводниковые элементы. Тогда в случае источников с широким спектром излучения избирательность определения обеспечивают применением интерференционных и газовых фильтров. Для повышения точности и стабильности измерения часть потока излучения обычно пропускают через сравнит. кювету, заполненную газом, не поглощающим регистрируемое излучение, и измеряют разность или отношение сигналов, полученных в результате прохождения излучения через рабочую и сравнит. кюветы.

Инфракрасные газоанализаторы широко используют для контроля кач-ва продукции, анализа отходящих газов, воздуха помещений. С их помощью определяют, например, СО, СО2, NH3, СН4 в технол. газах произ-ва синтетич. аммиака, пары ряда растворителей в воздухе пром. помещений, оксиды азота, SO2, СО и углеводороды в выхлопных газах автомобилей и т.д.

Ультрафиолетовые газоанализаторы. Принцип их действия основан на избират. поглощении молекулами газов и паров излучения в диапазоне 200-450 нм. Избирательность определения одноатомных газов весьма велика. Двух- и многоатомные газы имеют в УФ-области сплошной спектр поглощения, что снижает избирательность их определения. Однако отсутствие УФ-спектра поглощения у N2, O2, СО2 и паров воды позволяет во многих практически важных случаях проводить достаточно селективные измерения в присут. этих компонентов. Диапазон определяемых концентраций обычно 10-2-100% (для паров Hg ниж. граница диапазона 2,5-10-6%).

Схема ультрафиолетового газоанализатора аналогична схеме, приведенной на рис. 7. Имеются также приборы с двумя детекторами излучения без модулятора, в которых световые потоки не прерываются. В кач-ве источников излучения обычно применяют ртутные лампы низкого ( = 253,7 нм) и высокого (спектр с большим набором линий) давлений, газоразрядные лампы с парами др. металлов ( =280, 310 и 360 нм), лампы накаливания с вольфрамовой нитью, водородные и дейтериевые газоразрядные лампы. Приемники излучения - фотоэлементы и фотоумножители. При использовании неселективного источника излучения избирательность измерения в большинстве приборов обеспечивают с помощью оптич. фильтров (стеклянных или интерференционных).

Ультрафиолетовые газоанализаторы применяют главным образом для автоматич. контроля содержания С12, О3, SO2, NO2, H2S, C1O2, дихлорэтана, в частности в выбросах пром. предприятий, а также для обнаружения паров Hg, реже Ni (СО)4, в воздухе пром. помещений.

Люминесцентные газоанализаторы. В хемилюминесцентных газоанализаторах измеряют интенсивность люминесценции, возбужденной благодаря хим. реакции контролируемого компонента с реагентом в твердой, жидкой или газообразной фазе. Пример - взаимод. NO с О3, используемое для определения оксидов азота:

N0 + 03 -> N02+ + 02 -> N02 + hv + 02

Схема хемилюминесцентного газоанализатора с газообразным реагентом представлена на рис. 8. Анализируемая смесь и реагент через дроссели поступают в реакц. камеру. Побудитель расхода (насос) обеспечивает необходимое давление в камере. При наличии в смеси определяемого компонента излучение, сопровождающее хемилюминесцентную реакцию, через светофильтр подается на катод фотоумножителя, который расположен в непосредств. близости к реакц. камере. Электрич. сигнал с фотоумножителя, пропорциональный концентрации контролируемого компонента, после усиления поступает на вторичный прибор. При измерении слабых световых потоков, возникающих при малых концентрациях определяемого компонента, фотокатод охлаждают электрич. микрохолодильниками с целью уменьшения темнового (фонового) тока.

Рис. 8. Хемилюминесцентный газоанализатор: 1-реакц. камера; 2-светофильтр; 3 - фотоумножитель; 4-вторичный прибор; 5-побудитель расхода газа; 6-дроссели.

Для измерения содержания NO2 в приборе предусмотрен конвертер, где NO2 превращается в NO, после чего анализируемая смесь направляется в реакц. камеру. При этом выходной сигнал пропорционален суммарному содержанию NO и NO2. Если же смесь поступает, минуя конвертер, то по выходному сигналу находят концентрацию только NO. По разности этих сигналов судят о содержании NO 2 в смеси.

Высокая избирательность хемилюминесцентных газоанализаторов обусловлена специфичностью выбранной реакции, однако сопутствующие компоненты в смеси могут изменять чувствительность прибора. Такие Г. применяют для определения NO, NO2, NH3, O3 в воздухе в диапазоне 10-7-1%.

В флуоресцентных газоанализаторах измеряют интенсивность флуоресценции (длина волны ), возникающей при воздействии на контролируемый компонент УФ-излучения (с частотой v1). В кач-ве примера на рис. 9 представлена схема такого Г. для определения SO2 в воздухе. Анализируемая смесь поступает в детекторную камеру, которая отделена от импульсного источника УФ-излучения и от фотоумножителя светофильтрами 3 и 4, пропускающими излучение с длинами волн соотв. и . Фотоумножитель, расположенный под углом 90° к источнику излучения, регистрирует импульсы флуоресценции, амплитуда которых пропорциональна концентрации определяемого компонента в камере. Электрич. сигнал с фотоумножителя после усиления и обработки поступает на вторичный прибор. Газоанализаторы для определения SO2 характеризуются высокой чувствительностью и избирательностью. Они используются в автоматич. станциях контроля окружающей среды.

Рис. 9. Флуоресцентный газоанализатор: 1 -детекторная камера; 2-источник УФ-излучения; 3-светофильтр возбуждающего излучения; 4 -светофильтр люминесценции; 5-зеркало; 6-фотоумножитель; 7-вторичный прибор.

Для удаления паров воды, влияющих на показания люминесцентных газоанализаторов, применяют спец. фильтры (типа молекулярного сита) на входе потока газа в камеру.

Фотоколориметрические газоанализаторы. Эти приборы измеряют интенсивность окраски продуктов избират. реакции между определяемым компонентом и специально подобранным реагентом. Реакцию осуществляют, как правило, в растворе (жидкостные Г.) или на твердом носителе в виде ленты, таблетки, порошка (соотв. ленточные, таблеточные, порошковые Г.).

Рис. 10. Жидкостной фотоколориметрич. газоанализатор: 1 -источник излучения; 2-светофильтр; 3 и 3'-рабочая и сравнит. кюветы; 4-абсорбер; 5 и 5'-приемники излучения; б-усилитель; 7-вторичный прибор.

Принципиальная схема жидкостного газоанализатора представлена на рис. 10. Излучение от источника проходит через рабочую и сравнит. кюветы и поступает на соответствующие приемники излучения. Индикаторный раствор протекает с постоянной скоростью через обе кюветы и абсорбер. Навстречу потоку раствора через абсорбер барботирует анализируемый газ. Определяемый компонент, присутствующий в газе, взаимод. с реагентом в растворе, вызывая изменение оптич. плотности в рабочей кювете, пропорциональное концентрации компонента. В результате интенсивность излучения через одну из кювет изменяется, а через другую-нет. Разность (или отношение) сигналов рабочего и сравнит. каналов - мера концентрации определяемого компонента в анализируемой смеси.

Подача раствора может быть как непрерывной, так и периодической. При периодич. подаче анализируемый газ пропускают в течение некоторого времени через одну и ту же порцию раствора, что позволяет повысить чувствительность определения. Такие газоанализаторы дают возможность измерить среднюю концентрацию определяемого компонента за заданный промежуток времени, например при установлении среднесменных или среднесуточных концентраций токсичных примесей в воздухе.

В ленточных газоанализаторах (рис. 11) анализируемый газ поступает в газовую камеру, через которую непрерывно или с заданной периодичностью протягивается лента с нанесенным на нее реактивом. В результате реакции с определяемым компонентом на ленте образуется цветовое пятно, интенсивность окраски которого пропорциональна концентрации компонента. Разность (или отношение) световых потоков, отраженных от окраш. и неокраш. участков ленты, - мера концентрации контролируемого компонента в смеси. Иногда используют индикаторную ленту с жидким реактивом. В этом случае реактив наносится на ленту из капельницы непосредственно перед ее контактом с газом.

Рис. 11. Ленточный фотоколориметрич. газоанализатор: 1 -источник излучения; 2-индикаторная лента; 3-светофильтр; 4 и 4'-приемники излучения; 5-газовая камера; 6-усилитель; 7-вторичный прибор.

Принцип действия таблеточных и порошковых газоанализаторов такой же, как у ленточных, но эти приборы, как правило, циклич. действия. Для получения чистой поверхности перед каждым циклом измерения срезается верх. окраш. слой таблетки или заменяется порция порошка.

Время работы ленточных и таблеточных газоанализаторов без замены ленты или таблетки достигает 30 сут и более. Источники излучения в фотоколориметрич. газоанализаторах - обычно лампы накаливания и полупроводниковые светодиоды, фотоприемники — фотоумножители, фотоэлементы, фотодиоды и фототранзисторы. Эти приборы позволяют с высокой избирательностью определять разл. газообразные (парообразные) вещества в диапазоне концентраций 10-5-1%. Особенно высока чувствительность у газоанализаторов периодич. действия; их недостаток - некоторое запаздывание показаний.

Фотоколориметрич. газоанализаторы применяют главным образом для измерения концентраций токсичных примесей (напр., оксидов азота, О2, С12, CS2, O3, H2S, NH3, HF, фосгена, ряда орг. соед.) в атмосфере пром. зон и в воздухе пром. помещений. При контроле загрязнений воздуха широко используют переносные приборы периодич. действия. Значительное число фотоколориметрич. газоанализаторов применяют в качестве газосигнализаторов.

Электрохимические газоанализаторы. Их действие основано на зависимости между параметром электрохим. системы и составом анализируемой смеси, поступающей в эту систему.

В кондуктометрических газоанализаторах измеряется электропроводность раствора при селективном поглощении им определяемого компонента. Обычно схема прибора включает электрич. мост постоянного или переменного тока с двумя кондуктометрич. ячейками, через которые протекает электролит. В одну из ячеек электролит поступает после контакта с потоком анализируемого газа. Выходной сигнал пропорционален разности электропроводностей раствора до и после контакта с контролируемой смесью. Эта разность зависит от концентрации растворенного в электролите определяемого компонента. Изменяя расходы электролита и анализируемой смеси, можно в широких пределах изменять диапазон определяемых концентрации. Недостатки этих газоанализаторов - низкая избирательность и длительность установления показаний при измерении малых концентраций. Кондуктометрич. газоанализаторы широко применяют для определения О2, СО, SO2, H2S, NH3 и др.

Действие потенциометрических газоанализаторов основано на зависимости потенциала Е индикаторного электрода от активности а электрохимически активных ионов, образовавшихся при растворении определяемого компонента:

где E°-стандартный электродный потенциал, R - универсальная газовая постоянная, Т - абс. температура, F- число Фарадея, n-число электронов, участвующих в электрохим. реакции. Измеряемое значение Е пропорционально концентрации контролируемого компонента, растворенного в электролите. Эти газоанализаторы применяют для определения СО2, H2S, HF, NH3, SO2 и др.

Большое распространение получили потенциометрич. газоанализаторы с твердым электролитом для измерения содержания О2. Керамич. пластина на основе СаО и ZrO2 при высокой температуре начинает проводить ионы кислорода, т.е. ведет себя как электролит. На поверхность такой пластины с обеих сторон наносят тонкие слои пористой платины (платиновые электроды). С одной стороны пластины подают анализируемую газовую смесь, с другой - сравнительный газ. Разность потенциалов между электродами - мера содержания О2. Термостат поддерживает температуру электрохим. ячейки в нужном диапазоне. С помощью таких газоанализаторов определяют О2 в широком диапазоне концентраций (10-4-100% по объему). Присутствие углеводородов в анализируемой смеси приводит к искажению результатов из-за их окисления при высокой температуре.

Действие амперометрических газоанализаторов основано на зависимости между электрич. током и кол-вом определяемого компонента, прореагировавшим на индикаторном электроде. Если контролируемый компонент полностью вступает в электрохим. реакцию, то выполняется закон Фарадея: I = = nFQC, где I-ток, Q- расход газа, С-концентрация определяемого компонента, F-число Фарадея, n-число электронов, участвующих в реакции.

Электрохим. превращение данного компонента газовой смеси со 100%-ным выходом по току (т.е. отсутствие побочных электродных реакций) обеспечивается выбором индикаторного электрода и его потенциала. Необходимое постоянное значение разности потенциалов поддерживается благодаря тому, что сравнит. и индикаторный электроды выполняют из двух разных специально подобранных металлов, например из Аи и Zn, Au и Pb, Ni и Cd (ячейки гальванич. типа). Разность потенциалов можно стабилизировать и посредством электронной системы с использованием третьего вспомогат. электрода (ячейки потенциостатич. типа).

Рис. 12. Амперометрич. газоанализатор: 1-электрохим. ячейка; 2-вспомогат. электрод; 3-измерит, электрод; 4-потенциостат; 5 -электрод сравнения; 6-усилитель; 7-вторичный прибор; 8-побудитель расхода газа; 9-камера с запасным электролитом.

Амперометрич. газоанализаторы применяют для определения газов, обладающих окислит.-восстановит. св-вами, например SO2, NO2, H2S, О2, С12, О3. В газоанализаторах для измерения содержания SO2 в воздухе (рис. 12) анализируемый газ поступает на измерит. электрод 3 электрохим. ячейки и по газовому каналу - в камеру с запасным электролитом 9, в который помещен электрод сравнения 5. Вспомогат. электрод 2 расположен в отдельной камере, которая, как и камера 9, соединена с камерой измерит. электрода электролитич. каналом. Достоинства амперометрич. газоанализатора - высокая чувствительность и избирательность.

Кроме рассмотренной выше конструкции электрохим. ячейки барботажного типа (с непосредств. продуванием смеси через электролит) широкое применение находят ячейки с т. наз. газодиффузионными электродами, где газ отделен от электролита пористой газопроницаемой полимерной мембраной. Со стороны, контактирующей с электролитом, на мембрану наносят мелкодисперсный электродный материал (Pt, Pd, Au). Такие системы отличаются более высокой чувствительностью и стабильностью характеристик.

В основе кулонометрических газоанализаторов компенсац. типа лежит метод кулонометрич. титрования, который заключается в электрохим. получении (генерировании) реагента-титранта, способного быстро взаимод. с определяемым компонентом газовой смеси, растворенным в электролите. Этот газоанализатор включает цепи генерирования и индикации. Электрохим. ячейка содержит соотв. две пары электродев - катод и анод, на которых идет электролиз и генерируется титрант, а также индикаторный электрод и электрод сравнения. Ток электролиза автоматически поддерживается постоянным. После того как все контролируемое вещество полностью прореагирует с электрогенерированным титрантом, окислит.-восстановит. потенциал системы резко изменяется, что обнаруживается по скачку потенциала индикаторного электрода. Кол-во электричества, прошедшее через ячейку до завершения реакции, эквивалентно концентрации определяемого компонента.

Ионизационные газоанализаторы. Их действие основано на зависимости электрич. проводимости ионизов. газов от их состава. Появление в газе примесей оказывает дополнит. воздействие на процесс образования ионов или на их подвижность и, следовательно, рекомбинацию. Возникающее при этом изменение проводимости пропорционально содержанию примесей.

Все ионизац. газоанализаторы содержат проточную ионизац. камеру (как на рис. 13), на электроды которой налагают определенную разность потенциалов. Эти приборы широко применяют для контроля микропримесей в воздухе, а также в кач-ве детекторов в газовых хроматографах. Ниже рассмотрены наиболее распространенные типы ионизац. газоанализаторов, используемые без предварительного хроматографич. разделения пробы.

Рис. 13. Радиоизотопный ионизац. газоанализатор: 1 -ионизац. камера; 2-источник ионизации; 3-электроды; 4-источник напряжения; 5-усилитель; 6-вторичный прибор.

К радиоизотопным газоанализаторам (рис. 13), в которых ионизацию газов осуществляют радиоактивным излучением, относятся приборы на основе сечения ионизации, электронно-захватные и аэрозольно-ионизационные. В первых используют разницу в сечениях (вероятности) ионизации компонентов смеси. Ионизацию осуществляют обычно излучением 90Sr, 3H, 63Ni, 147Pm. Эти газоанализаторы не избирательны, их применяют для анализа смесей H2-N2, N2-CO2, Н2 - этилен, Н2-СН4, H2-CH3SiCl3, H2-BC13 и т.п.; диапазон измерения 0,01-100%; время установления показаний - до 0,1 с.

Действие электронно-захватных газоанализаторов основано на способности молекул ряда в-в (О2, Н2О, галогены, галогенсодержащие орг. соед., ароматич. углеводороды, спирты, карбонильные соед. и др.) захватывать своб. электроны, возникающие при ионизации газов, и превращаться при этом в ионы. Последние имеют меньшую подвижность, чем электроны, в результате чего ионизац. ток падает пропорционально концентрации вещества. Электронно-захватные газоанализаторы применяют для контроля примесей (в частности, галогенов при их концентрации 10-3-104%) в чистых газах и воздухе. При определении примесей в воздухе на входе в газоанализатор обычно помещают полимерные мембраны, задерживающие О2.

В основе действия аэрозольно-ионизационных газоанализаторов лежит зависимость ионизац. тока от концентрации аэрозольных частиц, образующихся после предварительного избират. перевода определяемого компонента смеси в аэрозоль. Этот перевод осуществляют обычно хим. реакцией с соответствующим реагентом или фотохим. реакцией в газовой фазе, пиролизом исследуемого вещества, а также сочетанием пиролиза с послед. хим. реакцией с реагентом. Напр., при определении NH3 в кач-ве реагента можно использовать пары соляной кислоты; в результате образуется аэрозоль NH4C1. Размер аэрозольных частиц 10-7-10-4 см. Концентрации анализируемых компонентов 10-5-10-3%. Аэрозольно-ионизационный газоанализатор используют, в частности, для определения микропримесей NH3, аминов, НС1, HF, NO2, паров HNO3, карбонилов Ni и Со, фосгена и ряда др. соед. в воздухе пром. помещений.

В пламенно-ионизационных газоанализаторах анализируемые орг. соед. ионизуют в водородном пламени. Эффективность ионизации пропорциональна числу атомов С, поступающих в пламя в единицу времени, но зависит также от наличия в молекуле вещества атомов др. элементов. Схема такого прибора представлена на рис. 14. Горелка служит одним из электродов ионизац. камеры. Второй электрод ("коллекторный") - тонкостенный цилиндр или кольцо. Эти Г. используют для определения орг. в-в в воздухе и технол. газах. При совместном присутствии ряда орг. компонентов находят либо их сумму, либо концентрацию компонентов со значительно большей эффективностью ионизации. С помощью пламенно-ионизационных газоанализаторов контролируют изменения суммарного содержания углеводородов в атмосфере и токсичные примеси в воздухе пром. помещений, чистоту выхлопных газов автомобилей, утечки газов из трубопроводов и подземных коммуникаций. Диапазон измеряемых концентраций 10-5-1%. Имеется непосредств. взаимосвязь между эффективностью ионизации орг. газов и паров и степенью взрывоопасности их смесей с воздухом. Это позволяет контролировать довзрывные концентрации орг. веществ в пром. помещениях, шахтах, туннелях.

Рис. 14. Пламенно-ионизац. газоанализатор: 1-ионизац. камера; 2-горелка; 3-коллекторный электрод; 4-источник напряжения; 5-усилитель; 6-вторичный прибор.

В поверхностно-ионизационных газоанализаторах образуются положит. ионы при адсорбции газов на нагретых поверхностях металлов или их оксидов. Ионизоваться могут компоненты с достаточно низкими потенциалами ионизации, сравнимыми по величине с работой выхода электронов из нагретой поверхности (эмиттера). Обычно ионизуются не контролируемые компоненты смеси, а продукты их реакций на каталитически активной поверхности. В кач-ве эмиттеров применяют, например, нагреваемые током спирали из Pt, оксидов Мо или W. Нагретый эмиттер одновременно служит одним из электродов ионизац. камеры. Второй ("коллекторный") электрод выполняют в виде наружного цилиндра. Т-ру нагрева эмиттера изменяют от 350 до 850 °С. С помощью таких газоанализаторов определяют фенол, уксусную и муравьиную кислоты, а также (с высокой избирательностью) азотсодержащие орг. соед., в частности анилин, амины, гидразины. Созданы приборы для контроля ряда аминов (диэтиламин, триэтиламин и др.) в воздухе пром. помещений. Диапазон измеряемых концентраций 10-5-10-2%.

В т. наз. "галогенных" газоанализаторах на поверхности платины, нагретой до 800-850 °С, ионизуются щелочные металлы (обычно Na и К), добавляемые в виде солей в зону нагрева и ионизации. Эмиссия щелочных ионов зависит от содержания в окружающем воздухе галогенов и их соединений. Эти приборы позволяют определять галогены (С1, Вг) в воздухе пром. помещений, хладоны при контроле герметичности холодильных установок и бытовых аэрозольных баллончиков с пределами обнаружения ок. 10-4%.

В фотоионизационных Г. молекулы определяемого компонента ионизуются УФ-излучением. Это возможно, если энергия фотонов не ниже потенциала ионизации молекул. В кач-ве источников излучения используют лампы, генерирующие фотоны с энергиями 9,5, 10, 10,2, 10,9 и 11,7 эВ. Осн. компоненты воздуха2, N2, CO, СО2, Н2О), а также СН4 имеют потенциалы ионизации в диапазоне 12-20 эВ и такими фотонами не ионизуются. Фотоионизац. газоанализаторы применяют для контроля примесей ароматич. и непредельных углеводородов, альдегидов, кетонов, спиртов и других орг. соед. в воздухе с пределами обнаружения 10-5 -10-4%. Подбирая излучение с подходящей энергией, можно избирательно определять, например, ароматич. соединения в присутствии алканов и кислородсодержащих орг. соед., меркаптаны в присут. H2S.

Полупроводниковые газоанализаторы. Их действие основано на изменении сопротивления полупроводника (пленки или монокристалла) при воздействии анализируемого компонента смеси. В основе работы полупроводниковых окисных газоанализаторов лежит изменение проводимости чувствит. слоя (смеси оксидов металлов) при хемосорбции на его поверхности молекул химически активных газов (рис. 15). Такие газоанализаторы применяют для определения горючих газов (в частности, Н2, СН4, пропана), а также О2, СО2 и др. Селективность анализа достигается варьированием состава чувствит. слоя и его температуры (при помощи встроенного нагревателя). Диапазон измеряемых концентраций горючих газов 0,01-1% по объему.

Рис. 15. Полупроводниковый окисный газоанализатор: 1-подложка; 2-контакты; 3-чувствит. слой; 4-нагреват. элемент; 5-вторичный прибор; 6-источник напряжения.

В полупроводниковых газоанализаторах с кристаллическими чувствит. элементами измеряют проводимость монокристалла или более сложной полупроводниковой структуры с р-n-переходами при изменении зарядового состояния поверхности, т.е. концентрации или распределения зарядов на ней. Напр., для определения Н2 используют чувствит. элементы в виде системы слоев металл - диэлектрик - полупроводник (канальные транзисторы), причем верх. металлич. слой получают из Pd или его сплавов. Изменение зарядового состояния поверхности достигается изменением контактной разности потенциалов между полупроводником и Pd при растворении в последнем Н2, присутствующего в анализируемой смеси. Диапазон измеряемых концентраций Н2 в инертных газах 10-5-10-3%.

Для серийного произ-ва полупроводниковых газоанализаторов применяют совр. технологию микроэлектроники, что позволяет создавать измерит. преобразователь, включающий чувствит. элемент, систему термостатирования и усилитель электрич. сигнала в виде отдельного микромодуля.

Лит.: Павленко В. А., Газоанализаторы, М.-Л., 1965; Бражников В. В., Дифференциальные детекторы для газовой хроматографии, М., 1974; Кулаков М. В., Технологические измерения и приборы для химических производств, М., 1983. © А.М.Дробиз, В.А.Рылов, В.Ю.Рыжнев.


выберите первую букву в названии статьи: А Б В Г Д Е Ж З И К Л М Н О П Р С Т У Ф Х Ц Ч Ш Щ Э Ю Я


Все новости



Новости компаний

Все новости


© ChemPort.Ru, MMII-MMXXIV
Контактная информация