новости бизнеса
компании и предприятия
нефтехимические компании
продукция / логистика
торговый центр
ChemIndex
новости науки
работа для химиков
химические выставки
лабораторное оборудование
химические реактивы
расширенный поиск
каталог ресурсов
электронный справочник
авторефераты
форум химиков
подписка / опросы
проекты / о нас


контакты
поиск
   

главная > справочник > химическая энциклопедия:

Холодильные процессы


выберите первую букву в названии статьи: А Б В Г Д Е Ж З И К Л М Н О П Р С Т У Ф Х Ц Ч Ш Щ Э Ю Я

Холодильные процессы, обеспечивают непрерывное искусств, охлаждение разл. веществ (тел) путем отвода от них теплоты. Естественное охлаждение с помощью холодной воды или воздуха позволяет охладить в-во до температуры охлаждающей среды и не требует подвода энергии. Охлаждение до более низких температур происходит в искусств. холодных средах, на создание которых расходуется мех., тепловая или хим. энергия. Охлаждение до температур выше 120 К принято наз. умеренным, ниже - глубоким или криогенным.

Искусственные холодные среды. Для их получения необходим перенос теплоты с низкого на более высокий температурный уровень, которым, как правило, является температура окружающей среды. Этот перенос осуществляется с использованием т. наз. обратимых круговых термодинамич. циклов, которые в промышленности обычно реализуются в холодильных установках. В последних холодная среда создается с помощью рабочих тел, наз. холодильными агентами или просто хладагентами (вода, NH3, пропан-пропиленовые смеси, хладоны, сжиженные газы - воздух, N2, Н2, Не и др.).

В лаб. практике холодные среды получают, приготовляя т. наз. охлаждающие смеси- системы из двух или неск. твердых (либо твердых и жидких) веществ, при смешении которых вследствие поглощения теплоты при плавлении или растворении происходит понижение температуры. Наиб. употребительны смеси из льда и NaCl (достигаемая температура от -20 до - 21,2 °С), льда и СаС12 х 6Н2О (-40 °С), твердого СО2 и этанола (-77 °С) и др. Для достижения криогенных температур в лабораториях применяют сжиженные газы, например N2 (см. также Теплообмен).

Термодинамические основы получения холода. Согласно второму началу термодинамики, указанный выше перенос теплоты самопроизвольно не происходит, требуя затрат работы. В термодинамич. процессах подвод или отвод теплоты q описывается через изменение энтропии dS системы: dq = TdS, где Т - температура. Отсюда следует, что при подводе к телу теплоты его энтропия возрастает, а при отводе теплоты - уменьшается. В непрерывных холодильных процессах хладагент должен принять теплоту от охлаждаемого тела на ниж. температурном уровне, отдать теплоту на верх. уровне к.-л. теплоприемнику и вернуться в исходное состояние. Поэтому в установившемся процессе суммарная энтропия хладагента не изменяется (dS=0).

Поскольку при передаче теплоты от охлаждаемого тела энтропия хладагента повышается, в любой холодильной установке должен проходить иной (компенсирующий) процесс, при котором энтропия хладагента уменьшается. В общем случае энтропия м. б. представлена как функция температуры и к.-л. другого параметра тела (напр., давление, фазовое состояние, степень намагниченности). Поэтому, если имеется изотермич. или близкий к нему процесс, в котором наблюдается значит. изменение энтропии при изменении иного параметра, то подобный процесс можно рассматривать как потенциальную основу для создания холодильных установок. К таким процессам относятся, например, изотермич. процессы сжатия либо адсорбции газов, намагничивания парамагнетиков и сверхпроводников. При этом низкая температура достигается соотв. в адиабатич. процессах расширения и десорбции газов, размагничивания парамагнетиков и сверхпроводников (см. ниже).

Перечисленные и иные процессы искусств. охлаждения в большинстве случаев осуществляются: 1) путем теплообмена между охлаждаемыми веществами и хладагентами - испаряющимися низкокипящими жидкостями, температура которых за счет уменьшения энтальпии i понижается до температуры кипения при давлении испарения; 2) изоэнтальпийным (i = const) расширением газов, предварительно сжатых в компрессорах, или жидкостей при их прохождении через сужение (вентиль, кран, пористая перегородка), т. е. их дросселированием (процесс протекает адиабатически без совершения внеш. работы) с использованием эффекта Джоуля - Томсона, или дроссельного эффекта,- отрицат. либо положит. изменения температуры тела при отсутствии подвода к телу или отвода от него теплоты; 3) адиабатическим (изоэнтропийным, S = const) расширением газов с совершением внеш. работы в т. наз. детандерах - машинах, устроенных подобно поршневому компрессору или турбокомпрессору (см. Компрессорные машины); 4) сочетанием обоих методов расширения. Эти и другие методы получения холода рассмотрены ниже.

Принцип работы холодильных установок. Его удобно иллюстрировать с помощью идеального (воображаемого) X. п. (цикла) в координатах р - V (рис. 1; р, V- давление в системе и ее объем). При сжатии в компрессоре (процесс ВbА)рабочего тела его температура Т повышается; при этом в окружающую среду с температурой Т0 передается удельная (на единицу количества хладагента) теплота q0 (площадь AbBdcA)и энтропия рабочего тела понижается; в конце сжатия Т = Т0. При послед. расширении (процесс АаВ)хладагента его температура понижается. Затем к нему от охлаждаемой среды переносится теплота qx(площадь AaBdcA)и энтропия рабочего тела возрастает.

Повторяя указанные процессы, получают непрерывный круговой холодильный цикл с постоянной холодопроиз-водительностью qx (количество теплоты, отнимаемой от охлаждаемого тела). Расходуемая в цикле мех. работа lц (площадь АаВbА), параметры q0 и qx по закону сохранения энергии связаны между собой выражением: q0 = qx + lц. Энергетич. показатели цикла характеризуются т. наз. холодильным коэффициентом Во всех идеальных циклах lц минимальна, а e максимален.

Рис. 1. Идеальный холодильный цикл.

Идеальные холодильные циклы и установки

Термодинамич. совершенство реального (необратимого) цикла оценивается сравнением его параметров с параметрами идеального (обратимого) цикла. Отношение холодильного коэф. реального цикла к холодильному коэф. соответствующего идеального цикла наз. термодинамическим коэффициентом цикла

Известны схемы и параметры ряда идеальных циклов: охлаждения, термостатирования, конденсации, сжижения и др.

Идеальный цикл охлаждения. Схема установки, работающей по этому циклу, и его изображение в координатах Т -S показаны на рис. 2 (здесь и далее точками 1, 2, 3,..., п обозначены стационарные характерные состояния рабочего тела, а изменения его параметров, отвечающие происходящим в установке процессам, изображены линиями 1-2 и т.д.). Хладагент изотермически сжимается в компрессоре K1 от давления р1 до давления р2(процесс 1-2), при этом теплота сжатия q0 отдается в окружающую среду. Затем происходит адиабатич. расширение рабочего тела в детандере (процесс 2-3, S = const), где за счет совершения работы lд хладагентом его температура понижается до Тx3. В Теплообменнике, то рабочее тело нагревается (процесс 3-4) до температуры Т4 путем подвода к нему теплоты qxот охлаждаемого тела (процесс 4'-3') и адиабатически сжимается (процесс 4-1) в компрессоре К2 до начальных параметров (точка 1). Процесс в ТО характеризуется отсутствием гидравлич. потерь, а также равенством температур охлаждаемого и рабочего тел во всех сечениях аппарата. Температура охлаждаемого тела уменьшается, а затрачиваемая работа lц = lK1 + lK2 - lд = q0 - qx, где lK1 и lK2 - работы изотермич. и адиабатич. сжатия хладагента в компрессорах.

Рис. 2. Идеальный цикл охлаждения.

В тепловых расчетах холодильных циклов удобно использовать связь между изменением энтальпии di хладагента и изменениями его теплоты и рабочих параметров, выражаемую уравнением: di = dq + Vdp. Отсюда для наиб. распространенного на практике изобарного охлаждения имеем: qx = i4 - i3 и lц = T0(S1 - S2) - (i4 - i3), гдe i3 и i4 - энтальпии рабочего тела. На рис. 2 работе lц эквивалентна площадь 12341, количеству отведенной теплоты q0 - площадь 12ab1, количеству подведенной к хладагенту или отведенной от охлаждаемого тела теплоты qx - площадь аb43а (здесь и далее заштрихована). В общем случае обратимый процесс 3-4 м. б. не только изобарным, тогда

где С - теплоемкость хладагента.

Рис. 3. Идеальный цикл термостатирования.

Этот цикл принимается в качестве идеального для воздушных холодильных, а также криогенных газовых и рефрижераторных установок (см. ниже).

Идеальный цикл термостатирования (рис. 3). Установка отличается от описанной выше тем, что вместо ТО имеется второй детандер, в котором рабочее тело изотермически расширяется при температуре Тх с совершением работы lД2 и подводом теплоты qx от термостатируемого объекта. Холодопроизводительность установки:

Количество теплоты, отводимой в окружающую среду:

Работа цикла:

Этот цикл, часто наз. также обратным циклом Карно, принимается как идеальный для большинства холодильных и криогенных установок (включая газовые), а также установок кристаллизации. Холодильный коэф. цикла не зависит от свойств хладагента и определяется только температурами окружающей среды (T0) и термостатирования (Тх), т. е.

В идеальных условиях для получения холода на разл. температурных уровнях примерный миним. расход энергии составляет: для достижения qx = 1 Вт на уровне 1 К - ок. 300 Вт, на уровне 200 К - всего 0,5 Вт. Реальные затраты энергии значительно выше, особенно в области низких температур.

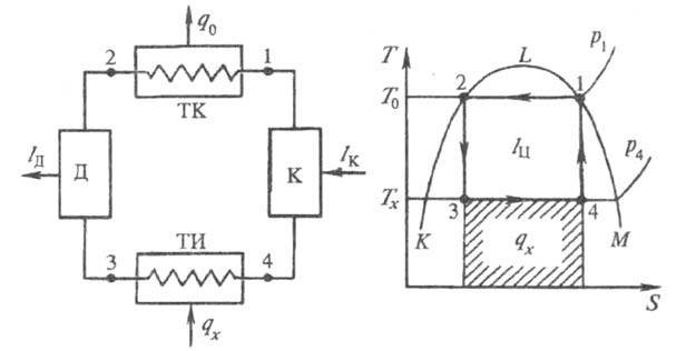
В случае протекания всех процессов в области влажного пара при равновесии жидкость - пар (рис. 4; здесь и далее под кривой KLM)изотермы T0, Тхи изобары p1, p4 совпадают. Схема холодильной установки упрощается: она включает только компрессор и детандер для изоэнтропийного сжатия (процесс 4-1) и расширения (процесс 2-3), а также теплообменник (конденсатор) ТК и теплообменник (испаритель) ТИ, обеспечивающие обратимые процессы передачи теплоты.

Рис. 4. Идеальный цикл термостатирования в области влажного пара.

Рис. 5. Идеальный цикл сжижения газов.

Приведенные выше формулы для данного случая также справедливы. По такой принципиальной схеме работает большинство установок умеренного холода.

Идеальный цикл сжижения газов (рис. 5). Рабочее тело изотермически сжимается в компрессоре К от давления p1 до давления р2, расширяется в детандере Д до состояния чистой жидкости [точка 3(f)] и направляется в теплообменник ТО. В нем жидкий хладагент в результате кипения (процесс 3-4) превращается в пар (точка 4), который затем нагревается до начальной температуры Т0 (точка 1). Одновременно сжижаемое вещество подвергается обратным изменениям: охлаждается (процесс 1'-4') от Т0до температуры Тx, при которой конденсируется (процесс 4'-3') до получения чистой жидкости [точка 3'(f)]. Поскольку все процессы данного цикла обратимы, работа его равна:

Общее количество теплоты, отведенной от сжимаемого газа в изобарном процессе 1-4-3(f), составляет: qx = qoxл + qконд = i1 - if, а холодильный коэф.

где if - энтальпия чистой жидкости.

Показатели этого цикла используются как базовые в установках сжижения газов.

Реальные холодильные циклы и установки

Холодильные циклы и установки, применяемые на практике, значительно отличаются от идеальных. Это обусловлено прежде всего тепловыми и гидравлич. потерями, а также несовершенством происходящих в установках процессов (не-дорекуперация теплоты, утечка и перетечка хладагента и др.); в ряде случаев - несовершенством собственно холодильных циклов.

Достигаемые в установках температура, холодопроизводительность и затраты мех. работы существенно зависят от вида и свойств хладагентов. Последние должны обладать способностью поглощать при испарении большое количество теплоты, иметь малые уд. объемы пара, невысокие критич. температуры, вязкости и плотности, высокие коэф. теплоотдачи и теплопередачи, раств. в воде, быть безвредными, пожаробезопасными, доступными и недорогими. Полностью удовлетворить все эти требования не может ни один из применяемых в настоящее время хладагентов. Поэтому при их выборе учитывают назначение холодильных установок, условия их работы и конструктивные особенности.

Установки для получения умеренного холода, наз. также холодильными машинами, подразделяются на воздушные и паровые, а последние - на компрессионные, абсорбционные, адсорбционные и пароэжекторные. Наиб. распространены парокомпрессионные, абсорбционные и пароэжекторные машины.

Парокомпрессионные машины (рис. 6) вырабатывают холод, используя кипение жидкостей при низких температурах с послед. сжатием образовавшихся паров и их конденсацией. Пары хладагента сжимаются в компрессоре К до давления конденсации рконд и сжижаются в конденсаторе ТК, отдавая теплоту конденсации охлаждающей воде или в окружающий воздух. Жидкий хладагент с помощью устройства Др дросселируется до давления кипения ркип, при этом его температура снижается до температуры кипения Ткип. За счет отвода в испарителе теплоты от охлаждаемого объекта жидкость кипит, а образующиеся пары засасываются компрессором и сжимаются. На практике из-за опасности разрушения компрессора при сжатии парожидкостной смеси (процесс 1-2) жидкость полностью испаряют (процесс 1-1') и сжимают только парообразный хладагент (процесс 1'-2'), который в результате оказывается несколько перегрет (точка 2'). В конденсаторе теплоту перегрева отводят охлаждающей водой (процесс 2'-2): кроме того, для снижения расхода энергии на единицу отнятой от охлаждаемого тела теплоты конденсат немного переохлаждают (процесс 3-3').

Рис. 6. Схема парокомпрессионной машины и ее холодильный цикл.

Давления ркип и рконд однозначно связаны с Ткип и температурой конденсации Тконд св-вами хладагента, а Тконд определяется температурой окружающей среды; поэтому наинизшая температура в машине зависит от отношения ркондкип , т. е. только от возможностей компрессора. Если это отношение велико, сжатие производится в многоступенчатом компрессоре. В рассматриваемых машинах достигают охлаждения до Тх= 165 К, qх от 30-80 до 5 кВт, = 0,5-7, = 0,3-0,5.

В абсорбционных машинах (рис. 7) пары хладагента поглощаются жидким абсорбентом, из которого они затем десорбируются и сжижаются. В качестве хладагента обычно применяют NH3, а в качестве абсорбента - воду. Пары NH3 сжижаются в конденсаторе ТК, теплота конденсации qконн отводится охлаждающей водой или воздухом. В испаритель ТИ дросселируется жидкий NH3, при этом его температура снижается до Тх. За счет отвода теплоты qx от охлаждаемой среды NH3 кипит, а его пары поступают в абсорбер Аб, где поглощаются разб. раствором аммиачной воды, непрерывно подаваемой через вентиль Вн; теплота абсорбции qаб отводится Н2О. Обогащенный раствор аммиачной воды подается насосом Н в подогреватель (кипятильник) Пд, где пары NH3 отгоняются. Коэф. = qx/(qпд + qн), где qпд - теплота, подводимая в кипятильнике, qн - теплота, эквивалентная мех. работе насоса.

Рис. 7. Схема абсорбционной машины.

Теоретически при одинаковых температурах кипения и конденсации хладагента для абсорбц. и паровых компрессионных машин холодильные коэф. равны, однако при низких температурах Тхкомпрессионные машины более эффективны. Достоинство абсорбц. машин - возможность использования в них низкопотенциальных источников теплоты; недостатки - громоздкость и большой расход воды. В машинах этого типа температура охлаждения достигает 208 К, qx = 290 - 7300 кВт, = 0,5-0,8.

Пароэжекторные машины (рис. 8) работают с затратой теплоты; сжатие хладагента осуществляется паровым эжектором, а конденсация - перемешиванием с водой. Рабочий водяной пар под давлением 0,8-1,0 МПа подводится из парогенератора к соплу эжектора Эж, где расширяется, создавая разряжение в испарителе ТИ, смешивается с отсасываемым из него паром и поступает в диффузор под давлением конденсации. В конденсаторе ТК водяной пар сжижается, конденсат частично подается в испаритель для восполнения потерь, а его осн. масса возвращается в парогенератор. При испарении в ТИ вода охлаждается, по замкнутому контуру поступает к холодильной камере ХК, подогревается и возвращается в испаритель. Для этих машин Тх достигает 283 К. Коэф. (qпаp теплота, затрачиваемая на получение пара высокого давления), значительно ниже, чем для парокомпрессионных, а в некоторых случаях и абсорбц. машин.

Рис. 8. Схема пароэжекторной машины.

Установки для получения холода на криогенном уровне

(КУ). Эти установки, наз. также просто криогенными, по назначению бывают рефрижераторные (вырабатывают низкотемпературный холод), ожижительные, газоразделительные и комбинированные. По способу получения холода различают след. циклы КУ: с дросселированием (i = const), расширением в детандере (S = const), дросселированием и расширением в детандере, криогенных газовых машин, с выхлопом газа из постоянного объема и др.

В циклах КУ особенно важен способ отвода теплоты от охлаждаемого тела, которое при охлаждении "приобретает" все температуры от Т0 до Тх. Идеальным для данного случая является процесс 4'-3' (рис. 2) или процесс 1'-4' (рис. 5), т. е. непрерывный отвод теплоты на каждом температурном уровне в интервале Т0 - Тх. В реальных циклах осуществить такой отвод теплоты невозможно. Некоторого приближения к этому способу можно достигнуть применением ряда ступеней охлаждения на неск. промежуточных уровнях. Для охлаждения при Тх= 150 - 250 К обычно достаточно использовать цикл с одной ступенью, для сжижения воздуха, О2 или N2 х = 70 - 90 К) - с двумя ступенями, водородах = 20 К) -с двумя-тремя ступенями, гелиях = 4-5 К) - не менее чем с тремя ступенями. Температурные уровни Тт (т= 1, 2, 3,...) каждой из п ступеней охлаждения в интервале Т0 - Тхможно оценить по формуле:

Применение того или иного цикла, а также аппаратурное оформление КУ зависят от большого числа факторов (главный из них - необходимая холодопроизводительность, стоимость единицы холода и надежность работы установок). Поэтому в общем случае расчет и оптимизация криогенных установок представляют собой сложную задачу.

Установки с дроссельными циклами отличаются исключит. простотой и надежностью в работе, вследствие чего широко распространены в произ-ве холода и сжиженных газов. Однако из-за низкой экономичности эти установки пригодны лишь для получения холода в небольших количествах.

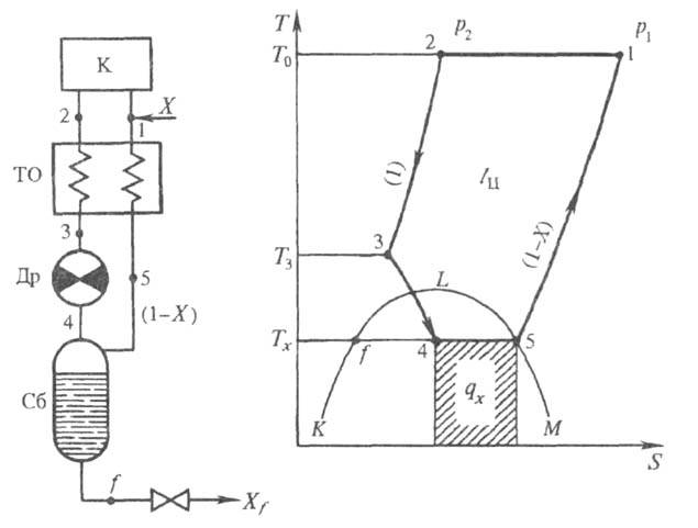
В установке с однократным, или простым, дросселированием (цикл Линде - Хемпсона; рис. 9) газ изотермически сжимается в компрессоре К (процесс 1-2), изобарно охлаждается в теплообменнике ТО до температуры Т3, расширяется (при i = const) в дроссельном вентиле Др от давления сжатия р2 до давления всасывания pl (процесс 3-4); при этом газ частично конденсируется. Жидкость в количестве X [доля сжиженного газа по отношению к количеству дросселируемого; количество последнего принимают за единицу, на рис. обозначают (1)] в состоянии f выводится из сборника Сб, а пар в количестве (1-Х)возвращается через ТО в компрессор. В точке 1 к нему добавляется газ в количестве X, и цикл повторяется. Холодопроизводительность qx = Tх(S5 - S4) = i1 - i2 = i5 - i4 = X(i1 - if). Доля выводимого сжиженного газа Xf = (i1 - i2)/(i1— if); где R - газ. постоянная.

Рис. 9. Схема криогенной установки с однократным дросселированием.

В идеальном дроссельном воздушном цикле очень малы доля получаемой жидкости (~ 5,5%) и холодильный коэф. (-7%); коэф. 5%. В реальном цикле из-за тепловых потерь в окружающую среду, недорекуперации теплоты в ТО, а также неизотермичности сжатия значения и м. б. существенно ниже (в 2-3 раза и более).

Кроме низкой эффективности, простой дроссельный цикл оказывается принципиально непригодным при i1 < i2. Известны методы повышения эффективности такого цикла. Главный из них - предварит. охлаждение сжатого газа от внеш. источника. Так, в воздушном дроссельном цикле с промежуточным охлаждением до 228 К (Т0 = 300 К) доля получаемой жидкости увеличивается до ~ 16,5%, а - до 15%.

Параметры криогенного цикла можно значительно улучшить применением двойного дросселирования и циркуляции части потока (рис. 10; D1 и D2 - потоки циркуляционный и направляемый на сжижение). В первом приближении холодопроизводительность такого цикла пропорциональна разности конечного (рк)и начального (рн) давлений хладагента: qх ~ (pк - pн), а мех. работа lк ~ ln(ркн). Поэтому холодильный коэф. при увеличении рн существенно возрастает (при рк = 20 МПа и повышении рн с 0,1 до 10 МПа коэф. увеличивается по сравнению с в 3,2 раза). При одинаковых давлениях р1 и р3доля сжиженного газа X по сравнению с долей газа при простом дросселировании уменьшается примерно на 15%, однако снижается на 40% мех. работа компрессора и на столько же процентов возрастает

Рис. 10. Схема криогенной установки с двойным дросселированием.

Совершенствование циклов с дросселированием достигается применением в качестве рабочей среды смеси хладагентов (рис. 11) с разл. температурами конденсации в интервале Т0 - Тх. Такая смесь сжимается в компрессоре К, при этом на уровне Т0 (р = р2) конденсируется часть потока - компонент с самой высокой температурой конденсации. В сборнике Сб1 происходит разделение фаз: пар направляется в теплообменник ТО1, а жидкость в количестве D1 дросселируется через вентиль Дp1 в обратный поток. После охлаждения в ТО2 часть прямого потока снова конденсируется и т.д. Процесс продолжается до достижения наинизшей температуры Тх -температуры конденсации прследнего компонента смеси при давлении р1. Криогенные установки и методы расчета состава смесей хладагентов достаточно сложны, но получаемый в результате эффект весьма значителен.

Рис. 11. Схема криогенной установки, работающей на смеси хладагентов.

Рис. 12. Схема криогенной рефрижераторной установки с двумя детандерами.

Установки с детандерными циклами. К этой группе обычно относят т. наз. рефрижераторные установки (хладагент циркулирует только внутри системы), в которых используются один или несколько (напр., два; рис. 12) детандеров на разных температурных уровнях, в т. ч. на самом нижнем. После изотермич. сжатия в компрессоре газ охлаждается в теплообменнике ТО1, из которого часть газа в количестве Dl отводится в детандер Д1, расширяется в нем и поступает в теплообменник ТО2 в качестве обратного потока. Оставшаяся часть газа в количестве D2 после охлаждения в теплообменниках ТО2 и ТО3 расширяется в детандере Д2; при этом в установке достигается наинизшая температура (Тх). При понижении температуры охлаждаемого объекта от Т7 до Т6 рабочий газ подогревается от Т6 до Т7 и как обратный поток подается в теплообменник ТО3. Холодопроизводительность qx = D1hl + D2h2 + (i1 - i2), где h -разность энтальпий газа на входе в детандер и выходе из него. Термодинамич. эффективность реальных детандерных циклов зависит от Тх, однако достаточно высока ( hт = 0,2 - 0,4).

Установки с дросселированием и расширением в детандерах широко распространены для сжижения газов и получения холода на любых температурных уровнях (вплоть до неск. К). Число детандеров, которые могут работать параллельно или последовательно, изменяется от 1 до 4. Благодаря отводу теплоты на неск. температурных уровнях термодинамич. эффективность этих установок достаточно высока и достигает в цикле без потерь 75%. Циклы с одним детандером и дросселем используются для произ-ва О2, N2 и Ar (см. Воздуха разделение).

В зависимости от давления в системе различают циклы высокого (20 МПа), среднего (4-6 МПа) и низкого (0,6 МПа) давлений. В цикле высокого давления (цикл Гейланда) детандер работает на самом верх. температурном уровне (рис. 13). Количества газа, направляемые в детандер и дроссель, примерно равны. Такая установка обладает наилучшими (по сравнению с установками среднего и низкого давлений) термодинамич. показателями (доля сжиженного газа X = 20%, коэф. = 18%), однако не может обеспечить большой холодопро-изводительности, т. к. использует поршневые компрессоры и детандеры.

В цикле низкого давления детандер работает на самом низком температурном уровне (рис. 14). Количество газа, направляемого в детандер, составляет ок. 96%, в дроссель - лишь 4%. Энергетич. показатели подобных установок значительно хуже, чем для установок высокого давления (Х=6%, 12,5%). Однако в качестве детандеров и компрессоров применяют только турбомашины, что обеспечивает возможность переработки больших количеств материальных потоков (до 300 тыс. м3/ч воздуха). Впервые цикл низкого давления осуществил П. Л. Капица, который сконструировал высокоэффективный турбодетандер, способный работать на уровне - 100 К.

Рис. 13. Схема криогенной установки, работающей по циклу высокого давления.

Криогенные газовые машины нашли применение благодаря высокой компактности и эффективности. Наиб. распространены машины, работающие по идеальному холодильному циклу Стирлинга, а также по циклу Гиффорда - Мак-Магона. В холодильном цикле Стирлинга (рис. 15) два поршня движутся в цилиндре прерывисто со сдвигом по фазе. Между поршнями размещен регенератор Р, который делит рабочую полость на теплую и холодную части. Газ изотермически сжимается (процесс 1-2), параллельным движением поршней изохорно перемещается через регенератор (процесс 2-3) и охлаждается до температуры Тх. Затем за счет движения правого поршня газ расширяется, его температура снижается и or охлаждаемого тела к нему подводится теплота (процесс 3-4). Поршни параллельно сдвигаются влево, холодный газ изохорно перемещается через регенератор, охлаждая его, и процесс повторяется.

Одноступенчатые машины используют для получения холода на уровне 150-70 К и до 40 К при небольшой холодопроизводительности; 0,1, = 20 - 42%. Более низких температур достигают, применяя двухступенчатые машины трехступенчатые машины обеспечивают Тх = 8,5 К.

Рис. 14. Схема криогенной установки, работающей по циклу низкого давления.

Рис. 15. Схема криогенной газовой машины, работающей по циклу Стирлинга.

В машинах, работающих по циклу Гиффорда - Мак-Магона, холод вырабатывается с помощью залпового выхлопа газа. Одноступенчатые машины используют для получения небольших количеств холода на уровне до 35 К, а двухступенчатые - до 7 К. Коэф. для этих машин меньше, чем для машин, работающих по циклу Стирлинга.

Из-за сложности аппаратурного оформления X. п. трудно моделируются. Поэтому их исследования и испытания холодильного оборудования выполняют, как правило, не на лабораторных, а на стендовых (полупромышленных) и пром. образцах, реальных хладагентах и в условиях, максимально приближенных к эксплуатационным.

Установки на основе нетрадиционных методов получения холода

Наряду с рассмотренными выше существует также ряд иных перспективных, но еще недостаточно часто используемых методов, лежащих в основе функционирования холодильных установок.

Метод откачки паров криогенных жидкостей приводит к их существ. переохлаждению (напр., для жидкого О2 с т. кип. ~ 90,2 К до 54,361 К - температуры тройной точки), а также позволяет получать разл. смеси льда и жидкости из одного и того же вещества, например Н2. Метод десорбционного охлаждения заключается в изотермич. адсорбции активным углем рабочего газа (Не, Ne) с отводом теплоты процесса в жидкий Н2 (N2) и послед. адиабатич. десорбции газа, при которой температуры хладагента и адсорбента снижаются: при Т0 = 14 К (температура начала десорбции) достигается охлаждение до Тх = 4 К (температура конца десорбции).

Метод, основанный на эффекте Пельтье, состоит в пропускании электрич. тока через контакт двух разнородных проводников; при изменении направления тока выделение теплоты сменяется ее поглощением, возможный перепад температур = 140 К, а коэф. установки зависит от Понижение температуры также происходит: при взаимном растворении веществ (3Не в сверхтекучем 4Не); при тангенциальном вводе сжатого газа (воздуха) с большой скоростью в т. наз. вихревую трубу, в которой в результате сложного вихревого движения газ расслаивается на горячий и холодный потоки (эффект Ранка); в волновых криогенераторах, где в условиях установившегося движения газа осуществляется его волновое расширение с генерацией акустич. автоколебаний и отводом энергии в виде теплоты в спец. устройствах - резонаторах; при воздействии сильного магн. поля на помещенное в термостат парамагн. вещество с послед. адиабатным его размагничиванием (магнитокалорический эффект) и т. д.

Области применения холодильных процессов

X. п. используют практически во всех областях науки, техники, произ-ва и в быту. Один из наиб. крупных потребителей холода - химико-лесной комплекс, для мн. произ-в которого и выполняемых науч. исследований диапазон низких температур чрезвычайно широк: от температуры окружающей среды до температуры, близкой к абс. нулю. К числу химико-технол. процессов, проводимых с применением холода, относятся: абсорбция, адсорбция, кристаллизация из растворов и расплавов, конденсация паров низкокипящих жидкостей, сжижение индивид. газов и разделяемых газовых смесей, сублимация-десублимация, жидкофазные (напр., галогенов с олефинами) и твердофазные (напр., полимеризация формальдегида) хим. реакции и др. (см. также, например, Вымораживание, Газов осушка, Газов разделение, Газов увлажнение, Газы природные горючие, Градирни, Криохимия, Сублимация, Сушка). X. п. наиб. распространены в произ-вах NH3, жидкого С12, О2, N2 и др. газов, хим. волокон, СК, синтетич. красителей, РТИ, высокооктановых бензинов, смазочных масел и парафина, при сжижении и осушке прир. газа, извлечении и осушке мономеров (напр., бутадиена) и их полимеризации (напр., изобугилена) и т. д.

Лит.: Щербин В. А., Гринберг Я. И., Холодильные станция и установки, М., 1979; Курылев Е. С., Герасимовы. А., Холодильные установки, 3 изд., Л., 1980; Орехов И. И., Обрезков В. Д., Холод в процессах химической технологии, Л., 1980; Беляков В. П., Криогенная техника и технология, М., 1982; Третьяков Ю.Д., Олейников Н.Н., Можаев А. П., Основы криохимической технологии, М., 1987; Архаров A. M., Марфенина И. В., Микулин Е. И., Криогенные системы. Основы теории и расчета, 2 изд., М., 1988.

© Б. А. Иванов.


выберите первую букву в названии статьи: А Б В Г Д Е Ж З И К Л М Н О П Р С Т У Ф Х Ц Ч Ш Щ Э Ю Я


Все новости



Новости компаний

Все новости


© ChemPort.Ru, MMII-MMXXIV
Контактная информация